EasyManua.ls Logo

Hyster E174 - Page 6

Hyster E174
29 pages
Print Icon
To Next Page IconTo Next Page
To Next Page IconTo Next Page
To Previous Page IconTo Previous Page
To Previous Page IconTo Previous Page
Loading...
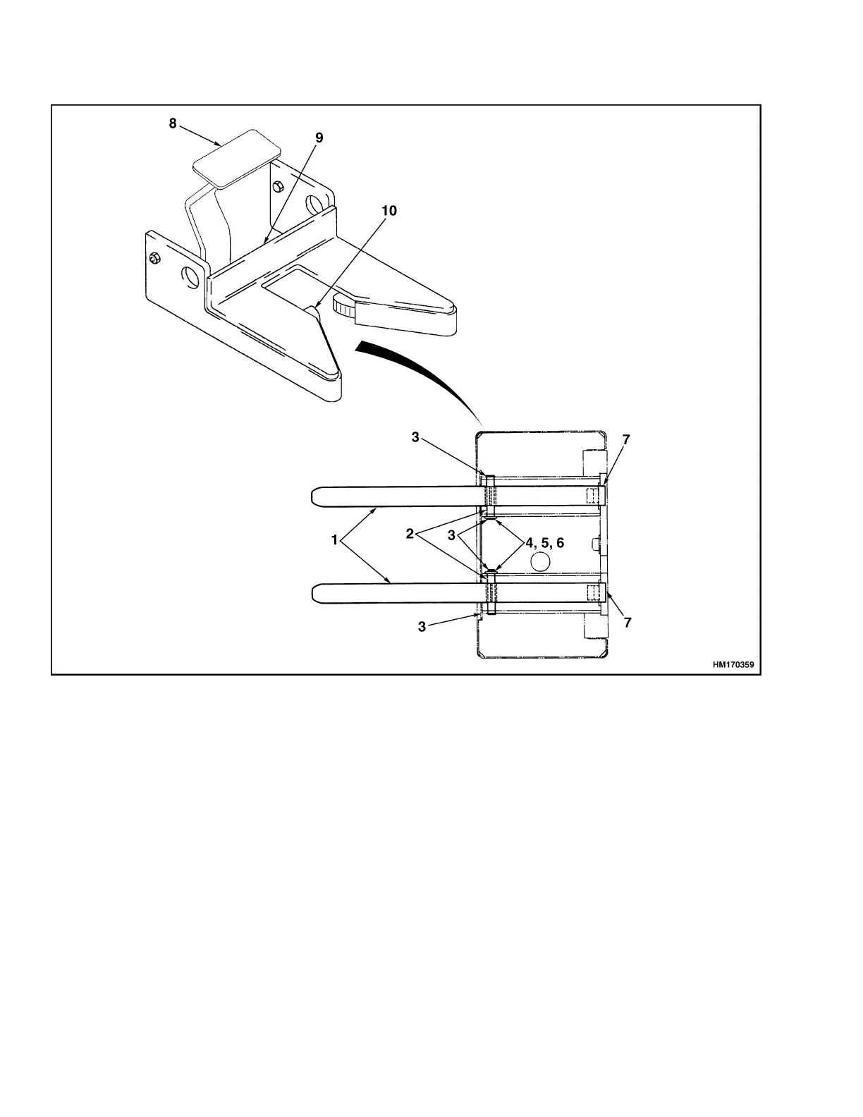
Forks 4000 SRM 764
1. FORK
2. PIN
3. WASHER
4. WASHER
5. WASHER
6. SPACER
7. SHIM
8. PEDAL
9. PALLET GRIP
10. PAWL
Figure 2. Forks, Pallet Grip, and Operator Platform
2

Other manuals for Hyster E174

Related product manuals