EasyManua.ls Logo

Hytera RD985 - Page 18

Hytera RD985
333 pages
Print Icon
To Next Page IconTo Next Page
To Next Page IconTo Next Page
To Previous Page IconTo Previous Page
To Previous Page IconTo Previous Page
Loading...
Service Manual
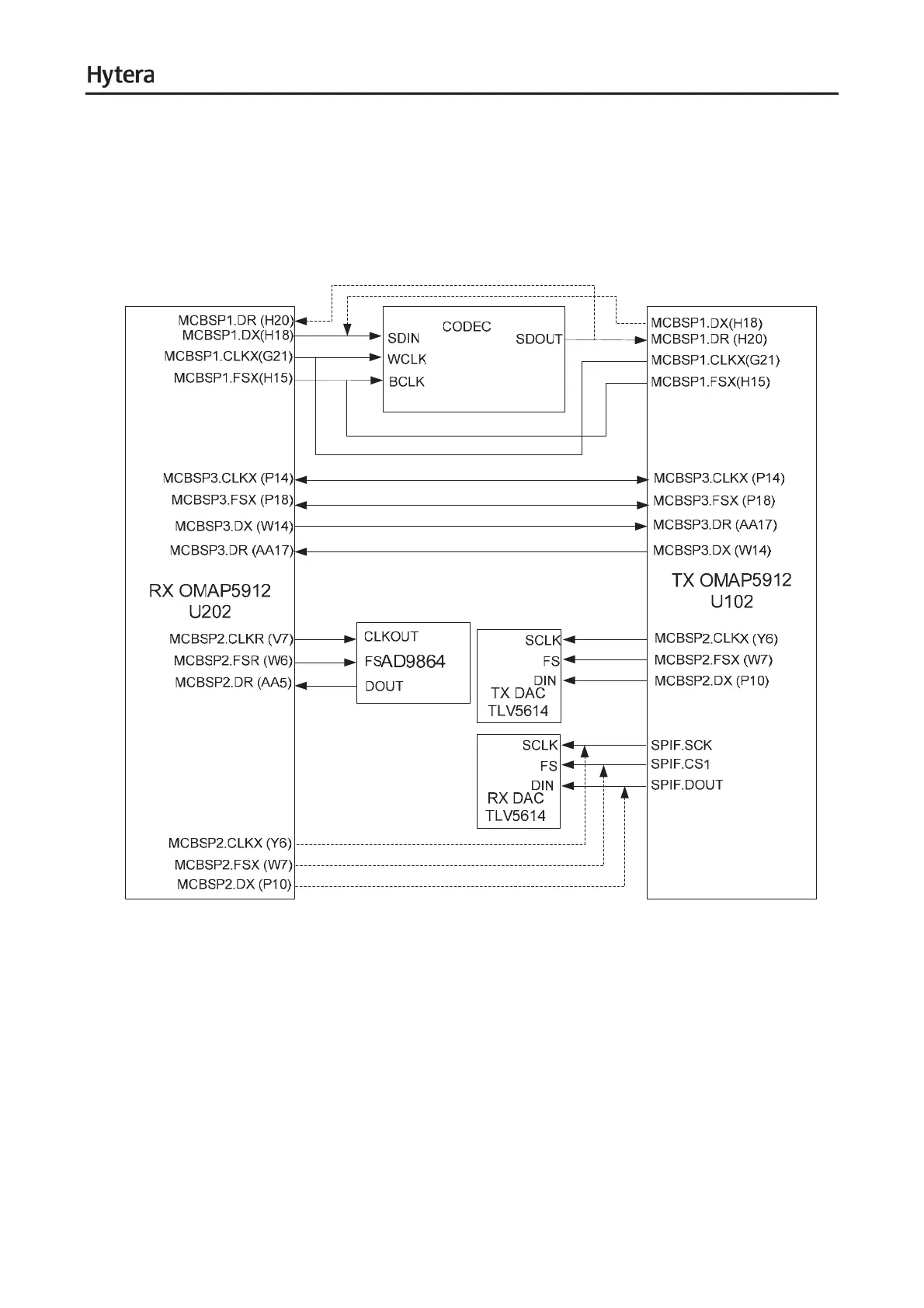
AD9864 to receive demodulation signal from AD9864, and TX OMAP McBSP2 is reserved for SPI
interface of RX DAC TLV5614. McBSP2 of TX OMAP is used to connect SSI interface of TX DAC
TLV5614. TLV5614 works in Slave mode and is managed by DSP. McBSP3 is used to connect RX
OMAP and TX OMAP for data transmission. See the following figure:
Figure 6-12 Diagram of MCBSP Connection
6.2.7 SPI
OMAP5912 has one SPI interface that can connect four SPI components. The descriptions are as follow:
(1) RX OPMAP5912 SPI Interface
The SPI interface of RX OMAP is used to configure IF processor (AD9894) and RX PLL chip
(SKY72310).
AD9894 is controlled by SPI chip select (CS1) of RX OMAP, and RX PLL chip is controlled by CS2. The
connection between RX OMAP SPI interface and AD9894/ RX PLL is shown below:
15

Other manuals for Hytera RD985

Related product manuals