EasyManua.ls Logo

IBC IBGFSW1-0110

Default Icon
111 pages
To Next Page IconTo Next Page
To Next Page IconTo Next Page
To Previous Page IconTo Previous Page
To Previous Page IconTo Previous Page
Loading...
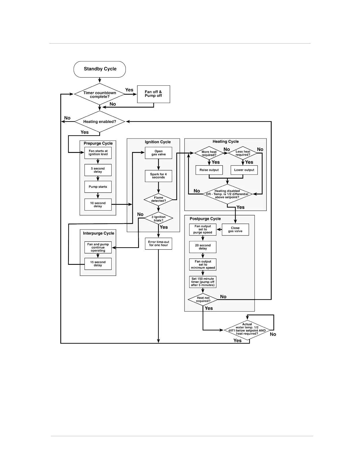
Figure 50 Sequence of Operation
99
Appendices

Table of Contents

Related product manuals