EasyManua.ls Logo

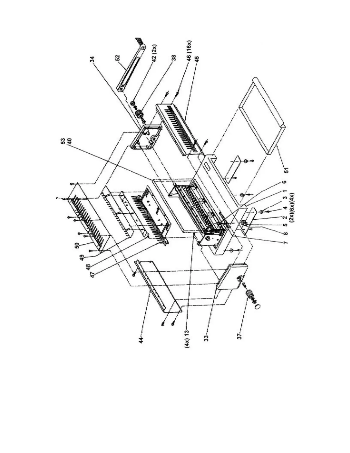
ibico Kombo Binding Machine - Exploded View Diagrams

ibico Kombo Binding Machine
6 pages
Print Icon
To Next Page IconTo Next Page
To Next Page IconTo Next Page
To Previous Page IconTo Previous Page
To Previous Page IconTo Previous Page
Loading...
5

Related product manuals