EasyManua.ls Logo

IBM iSeries 820 - Page 408

IBM iSeries 820
622 pages
Print Icon
To Next Page IconTo Next Page
To Next Page IconTo Next Page
To Previous Page IconTo Previous Page
To Previous Page IconTo Previous Page
Loading...
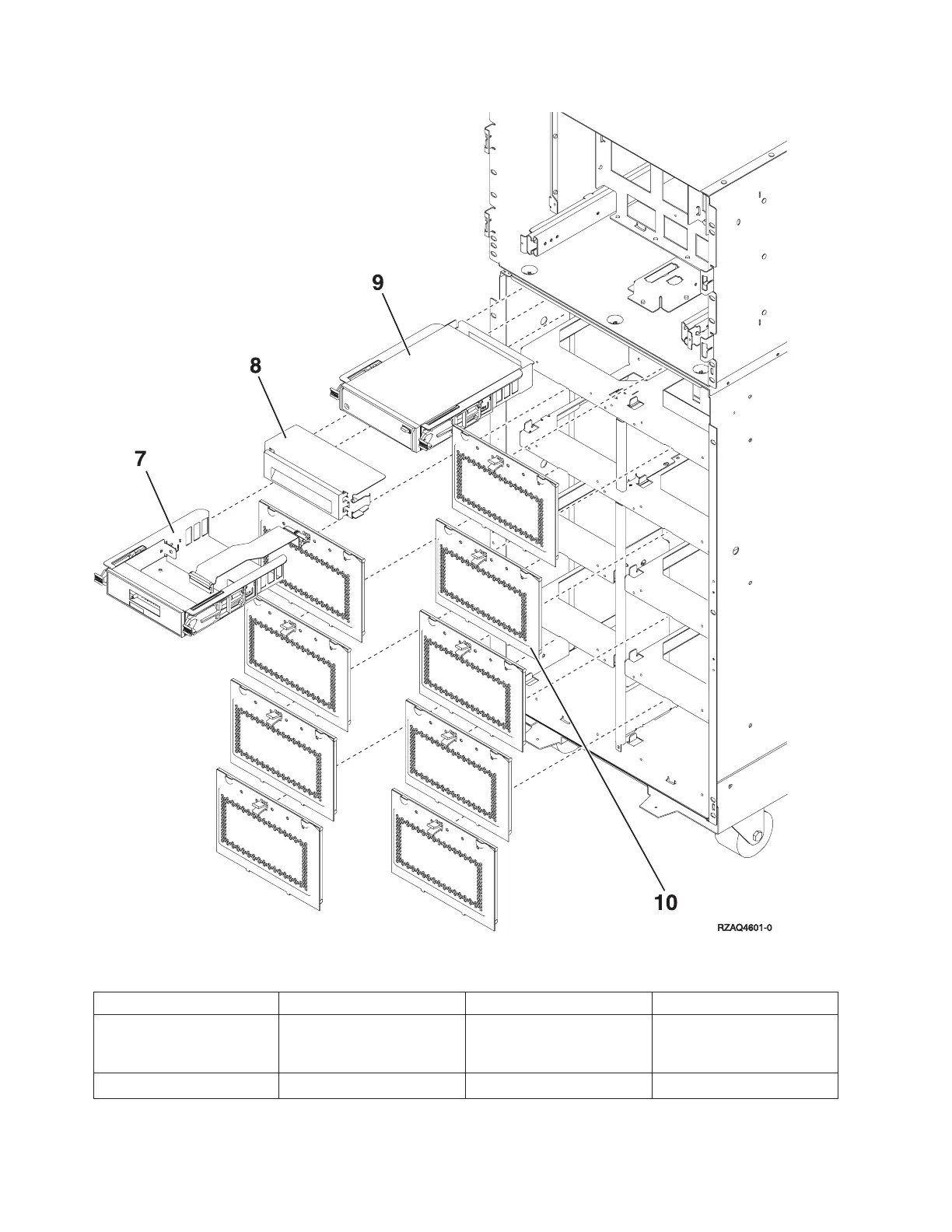
Table 2. Final Assembly, Front - Models 830 and SB2 with FC 9074 (continued)
Index Part number Units Description
7 24L0945 1 Control panel. See Control
Panel assembly - Models
830 and SB2 with FC 9074.
8 44H8406 AR Filler (Removable media)
396 Hardware (Remove and Replace; Part Locations and Listings)

Table of Contents

Other manuals for IBM iSeries 820

Related product manuals