EasyManua.ls Logo

IBM Power 750 Express - Status Lights (FC 6258 or 5907)

IBM Power 750 Express
134 pages
Print Icon
To Next Page IconTo Next Page
To Next Page IconTo Next Page
To Previous Page IconTo Previous Page
To Previous Page IconTo Previous Page
Loading...
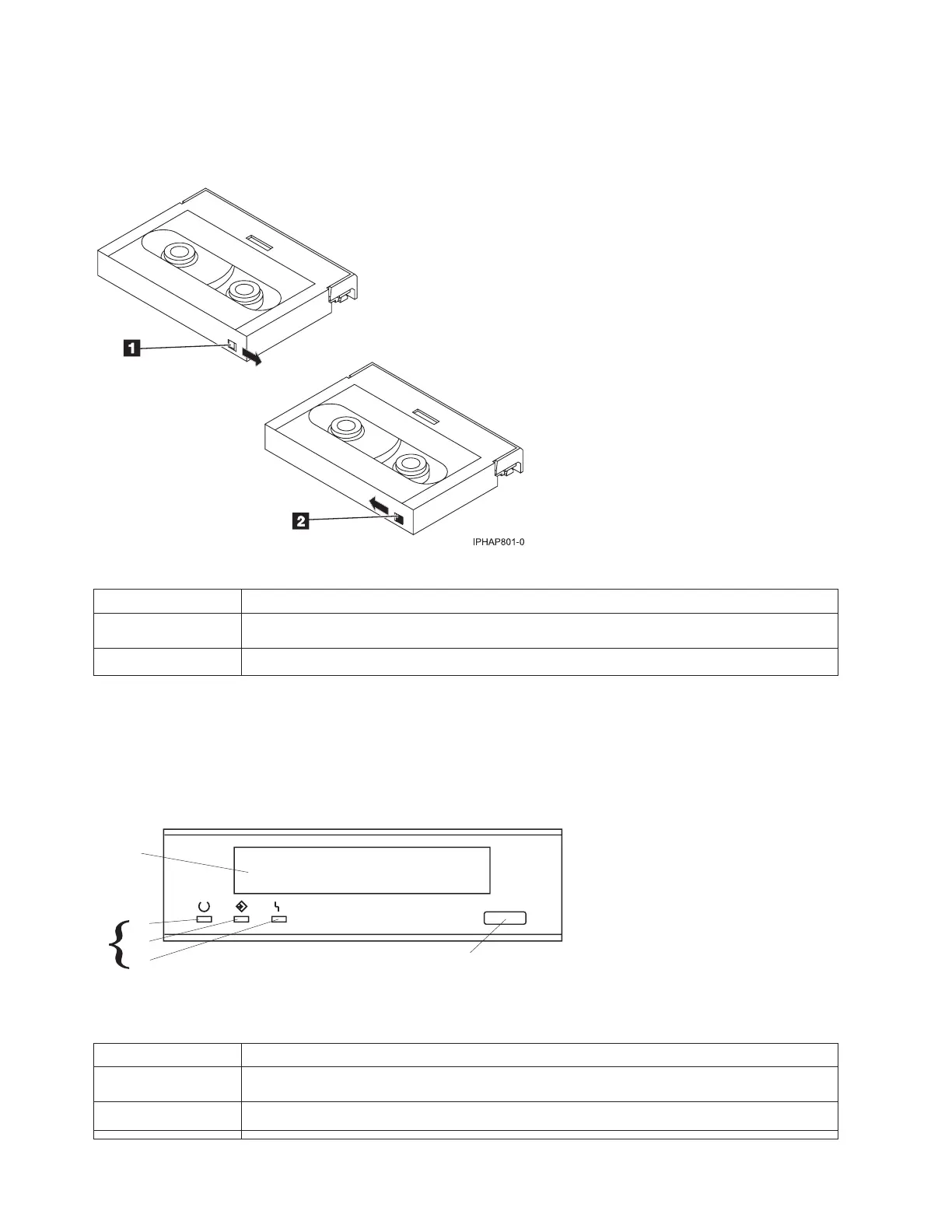
Attention: Do not attempt to change the write-protect settings after the tape cartridge is loaded in the
drive because this might cause unpredictable results and might damage the tape or the drive.
The position of the write-protect switch on the tape cartridge determines when you can write to the tape.
Table 38. Index number and the corresponding description of the tape cartridge
Index number Description
1 When the switch is set to the right, data can be written to and read from the tape
2 When the switch is set to the left, data can only be read.
Status lights (FC 6258 or 5907)
You might need to read the status lights on your tape drive to determine the operating status of the
drive. Use the information in this topic to perform this task.
The following illustration is a front view of the tape drive:
Table 39. Index number and the description for the front view of the tape drive
Index number Description
1 Tape drive door
2 Status lights
3
4
5
6
1
2
Figure 6. Front view of tape drive
50 Managing devices

Table of Contents

Other manuals for IBM Power 750 Express

Related product manuals