EasyManua.ls Logo

Ice i20NBT - Wiring Diagram

Ice i20NBT
78 pages
To Next Page IconTo Next Page
To Next Page IconTo Next Page
To Previous Page IconTo Previous Page
To Previous Page IconTo Previous Page
Loading...
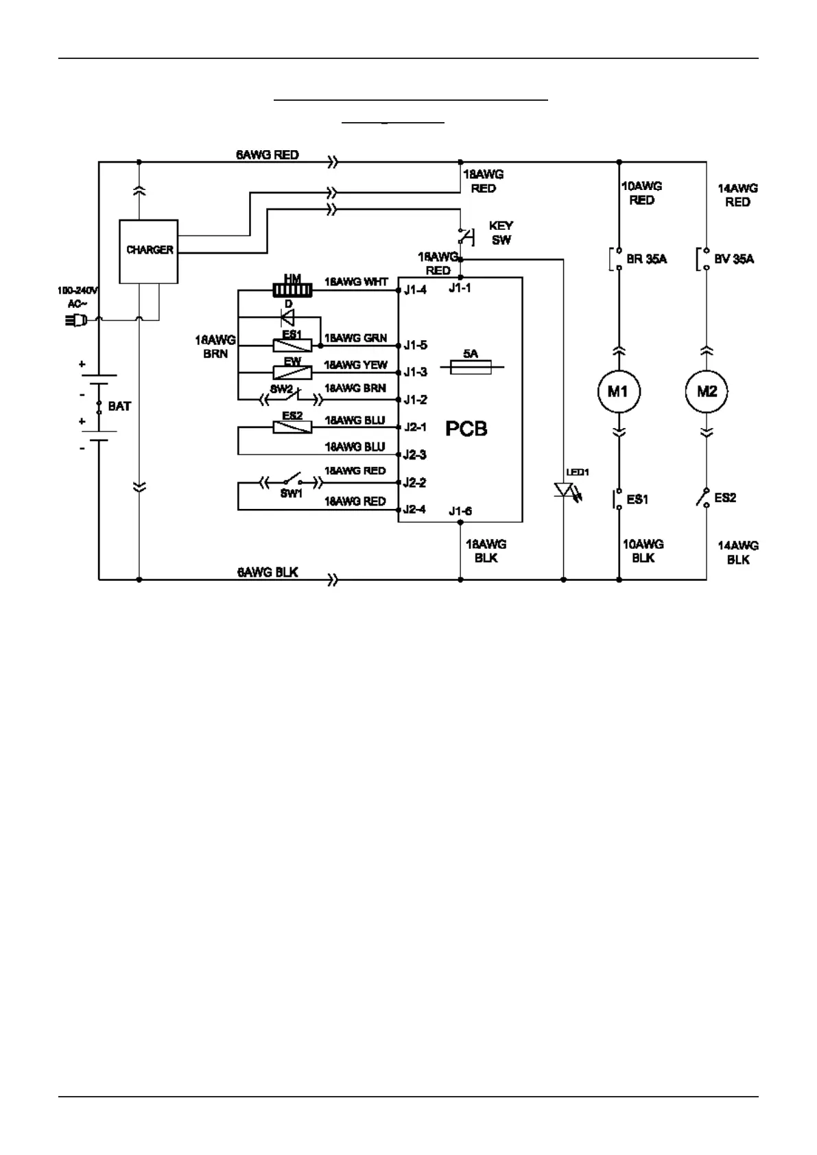
ICE I20NB / I20NBT / I24BT 73
WIRING DIAGRAM
BAT: 2-12V Batteries
CHARGER: On board battery charger
KEY SW: Main power Key switch
HM: Hour meter
D: Diode
ES1: Brush motor solenoid switch
EW: Solution solenoid valve switch
SW2: Safe switch, Scrub head lifting
ES2: Vacuum motor relay
ES2: Vacuum motor relay
SW1: Control handle start bail switch
PCB: Function electronic board
LED1: Running lights
BR: Circuit breaker, Brush motor
BV: Circuit breaker, Vacuum motor
M1: Brush motor
M2: Vacuum motor
WIRING DIAGRAM FOR I20NB
) 271
(SN: )

Other manuals for Ice i20NBT

Related product manuals