EasyManua.ls Logo

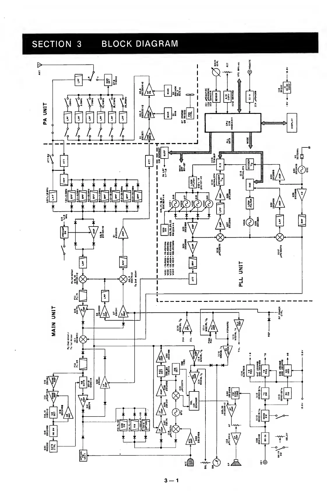
Icom IC-725 - System Block Diagram

Icom IC-725
67 pages
Print Icon
To Next Page IconTo Next Page
To Next Page IconTo Next Page
To Previous Page IconTo Previous Page
To Previous Page IconTo Previous Page
Loading...
PA
UNIT

Other manuals for Icom IC-725

Related product manuals