EasyManua.ls Logo

IDEAL 61-746

IDEAL 61-746
36 pages
To Next Page IconTo Next Page
To Next Page IconTo Next Page
To Previous Page IconTo Previous Page
To Previous Page IconTo Previous Page
Loading...
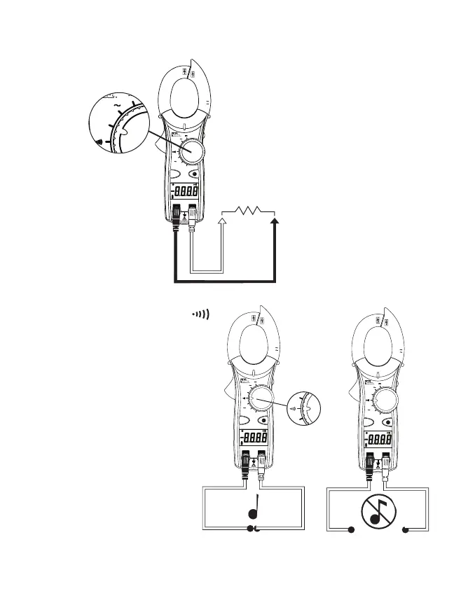
Medida de resistencia (ohms):
Para obtener medidas precisas, verifique que el circuito esté desenergizado.
CAT.III
COM
V/
600V
NCV
OFF
V
V
True RMS
40
A
600
AM
HOLD
DC
K
AC
m V
APO
CAT.III
600V
600A
CLAMP
61-746
CAT.III
COM
V/
600V
NCV
OFF
V
V
True RMS
40
A
600
AM
HOLD
DC
K
AC
m V
APO
CAT.III
600V
600A
CLAMP
61-746
CAT.III
COM
V/
600V
NCV
OFF
V
V
True RMS
40
A
600
AM
HOLD
DC
K
AC
m V
APO
CAT.III
600V
600A
CLAMP
61-746
CAT.III
COM
V/
600V
NCV
OFF
V
V
True RMS
40
A
600
AM
HOLD
DC
K
AC
m V
APO
CAT.III
600V
600A
CLAMP
61-746
CAT.III
COM
V/
600V
NCV
OFF
V
V
True RMS
40
A
600
AM
HOLD
DC
K
AC
m V
APO
CAT.III
600V
600A
CLAMP
61-746
Verificación de continuidad ( ):
Verifique que el circuito esté
desenergizado.
El medidor detectará el nivel de
resistencia y emitirá un pitido si
la resistencia es menor que 25 Ω,
para confirmar que existe continuidad.
Circuito
cerrado
Circuito
interrumpido
Page 20

Related product manuals