EasyManua.ls Logo

Igema SMLC2 - Assignment Plan

Igema SMLC2
32 pages
Print Icon
To Next Page IconTo Next Page
To Next Page IconTo Next Page
To Previous Page IconTo Previous Page
To Previous Page IconTo Previous Page
Loading...
14
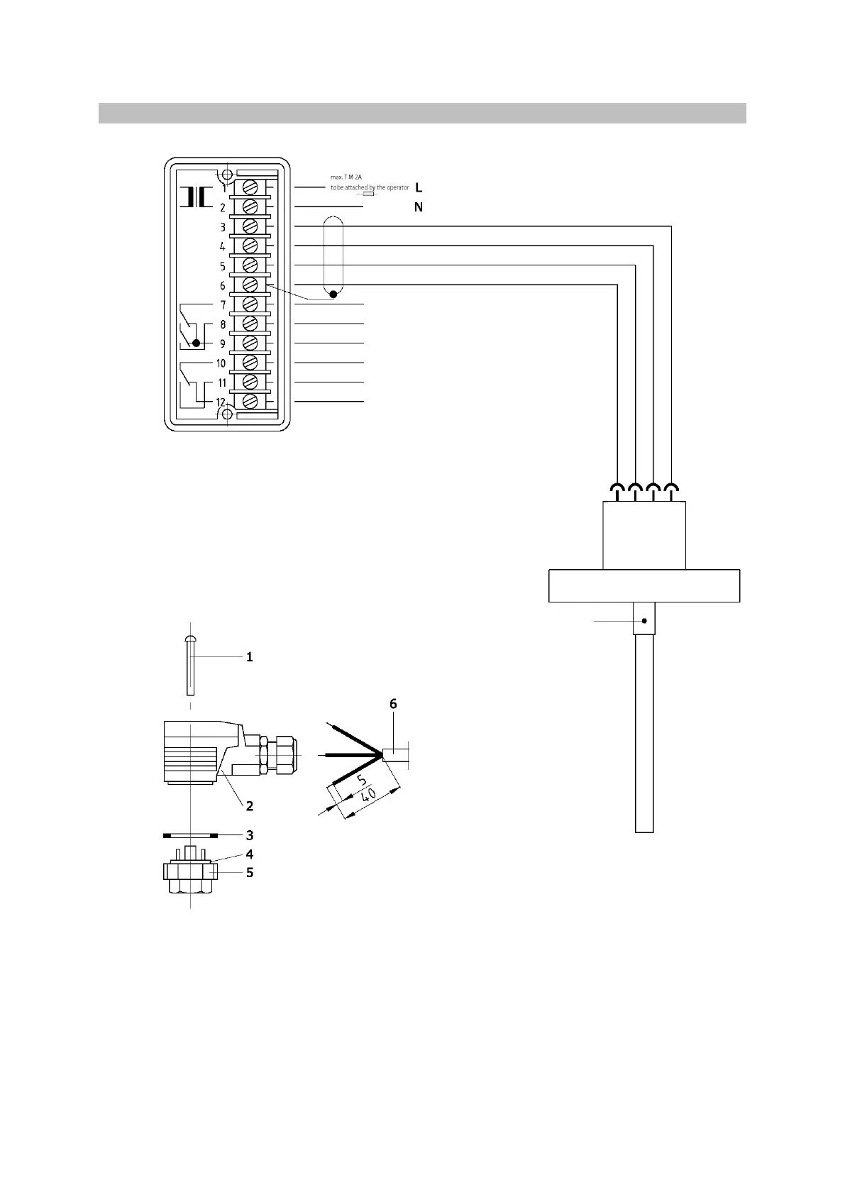
5.3.2 Assignment plan
In the normal operating condition (safety chain closed; burner ON) the output contacts 7 and
8 or 10 and 12 (pre-alarm OFF) are closed.
The configuration of the terminals is printed at the back of the housing.
(EL968 and MS015A/B: check separate Installation and Operating instructions)
SMHL2
Safety chain
Signalling
EL030 oder EL19-2
electrical connection:
shielded cable 4 x 0,75mm2
e.g. Helutherm 145 Multi-C; IGEMA Art.Nr. 40-55214
1 2 3
Mains voltage: see data plate
Lead connection at
probe plug
1 Screw
2 Probe plug
3 Seal
4 Contact carrier
5 Screw ring
6 Measuring cable