EasyManua.ls Logo

IKEA FINSMAKARE

IKEA FINSMAKARE
44 pages
To Next Page IconTo Next Page
To Next Page IconTo Next Page
To Previous Page IconTo Previous Page
To Previous Page IconTo Previous Page
Loading...
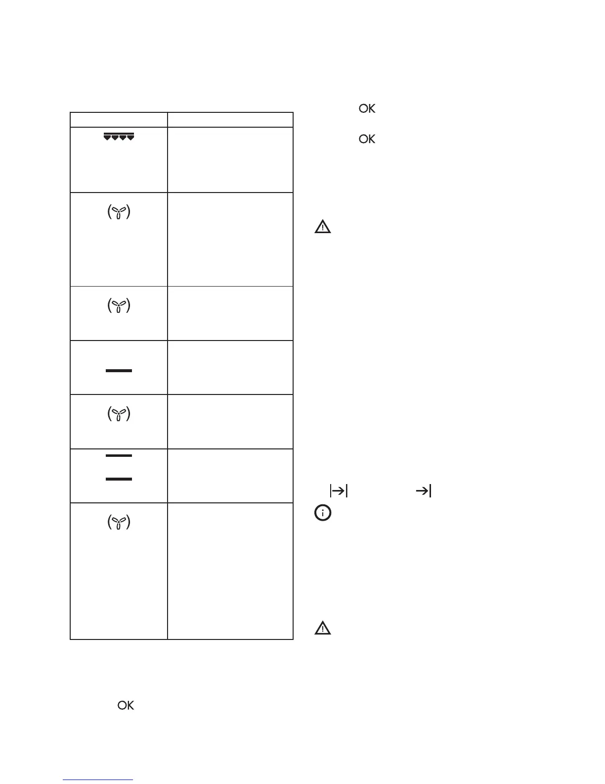
Heating function Application
Au Gratin
For dishes such as la-
sagna or potato gra-
tin. To make gratins
and to brown.
Dough Proving
To rise the yeast
dough before baking.
When you use this
function the lamp au-
tomatically turns off af-
ter 30 seconds.
Plate Warming
To preheat plates for
serving.
Preserving
To make vegetable
preserves (e.g. pickles).
Drying
To dry sliced fruit, veg-
etables and mush-
rooms.
Keep Warm
To keep food warm.
Defrost
To defrost food (vege-
tables and fruit). The
defrosting time de-
pends on the amount
and size of the frozen
food. When you use
this function the lamp
automatically turns off
after 30 seconds.
Setting a heating function
1. Turn on the oven.
2. Select the menu: Heating Functions.
3. Press
to confirm.
4. Select a heating function.
5. Press to confirm.
6. Set the temperature.
7. Press to confirm.
Setting a steam function
The water drawer cover is in the control
panel.
Warning! Use only cold tap
water. Do not use filtered
(demineralised) or distilled
water. Do not use other liquids.
Do not put flammable or
alcoholic liquids into the water
drawer.
1. Press the cover of the water drawer to
open it.
2. Fill the water drawer with 900 ml of
water.
The water supply is sufficient for
approximately 55 - 60 minutes.
3. Push the water drawer to its initial
position.
4. Turn on the oven.
5. Set a steam heating function and the
temperature.
6. If necessary, set the function: Duration
or: End Time .
When the steam generator is
empty, the signal sounds.
The signal sounds at the end of the cooking
time.
7. Turn off the oven.
8. Empty the water tank after the steam
cooking is completed. Refer to the
cleaning function:Tank Emptying.
Caution! The oven is hot.
There is a risk of burns. Be
careful when you empty the
water tank.
9. After steam cooking steam can
condensate on the bottom of the cavity.
Always dry the bottom of the cavity
when the oven is cool.
ENGLISH
17

Other manuals for IKEA FINSMAKARE

Related product manuals