EasyManua.ls Logo

IKEA FINSMAKARE

IKEA FINSMAKARE
44 pages
To Next Page IconTo Next Page
To Next Page IconTo Next Page
To Previous Page IconTo Previous Page
To Previous Page IconTo Previous Page
Loading...
Care and cleaning
Warning! Refer to Safety
chapters.
Notes on cleaning
Clean the front of the oven with a soft cloth
with warm water and a mild cleaning
agent.
To clean metal surfaces, use a dedicated
cleaning agent.
Clean the oven interior after each use. Fat
accumulation or other food remains may
result in a fire. The risk is higher for the grill
pan.
Clean all accessories after each use and let
them dry. Use a soft cloth with warm water
and a cleaning agent. Do not clean the
accessories in the dishwasher.
Clean stubborn dirt with a special oven
cleaner.
If you have nonstick accessories, do not
clean them using aggressive agents, sharp-
edged objects or a dishwasher. It can cause
damage to the nonstick coating.
Moisture can condense in the oven or on
the door glass panels. To decrease the
condensation, operate the oven for 10
minutes before cooking. Clean the moisture
from the cavity after each use.
Stainless steel or aluminium ovens
Clean the oven door with a damp cloth or
sponge only. Dry it with a soft cloth.
Do not use steel wool, acids or abrasive
materials as they can damage the oven
surface. Clean the oven control panel with
the same precautions.
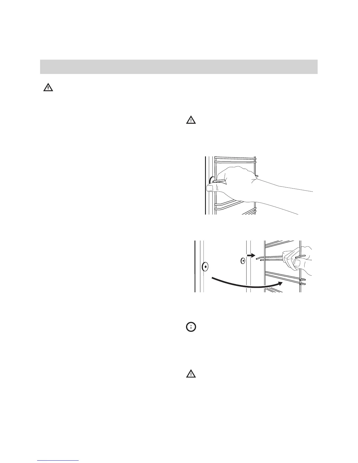
Removing the shelf supports
To clean the oven, remove the shelf
supports.
Caution! Be careful when you
remove the shelf supports.
1. Pull the front of the shelf support away
from the side wall.
2. Pull the rear end of the shelf support
away from the side wall and remove it.
2
1
Install the removed accessories in the
opposite sequence.
The retaining pins on the
telescopic runners must point to
the front.
Pyrolysis
Caution! Remove all accessories
and removable shelf supports.
ENGLISH 29

Other manuals for IKEA FINSMAKARE

Related product manuals