EasyManua.ls Logo

IKEA MAGEBO - Steam Assist

IKEA MAGEBO
142 pages
Print Icon
To Next Page IconTo Next Page
To Next Page IconTo Next Page
To Previous Page IconTo Previous Page
To Previous Page IconTo Previous Page
Loading...
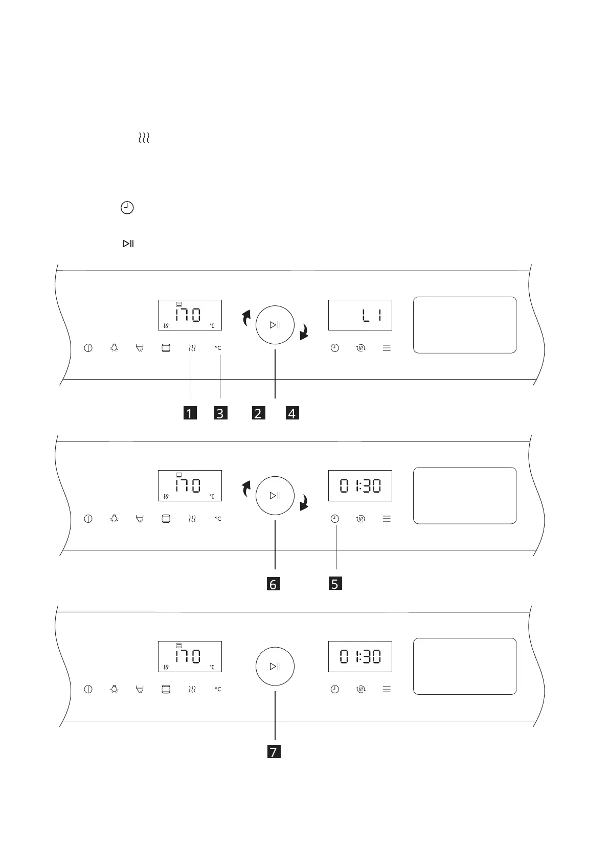
Steam Assist
1. Click on the " " key to select the steam assisted cooking mode.
2. Turn the knob to adjust the cooking temperature.
3. Click "°C" key to enter the steam volume adjustment.
4. Turn the knob to adjust the steam volume (L1-L3 steam volume increases).
5. Click the " " key to enter the cooking time adjustment state.
6. Turn the knob to adjust the cooking time.
7. Click the " " key on the knob to start cooking.
ECO
ECO
ECO
17
ENGLISH

Related product manuals