EasyManua.ls Logo

IKEA TVATTAD - Utilizzo Quotidiano

IKEA TVATTAD
340 pages
Print Icon
To Next Page IconTo Next Page
To Next Page IconTo Next Page
To Previous Page IconTo Previous Page
To Previous Page IconTo Previous Page
Loading...
e per circa 2 secondi. Il display visualizza
On o O.
Se si disattivano i segnali acustici,
gli stessi continueranno a
funzionare in caso di
malfunzionamento
dell'apparecchiatura.
Utilizzo quotidiano
AVVERTENZA! Fare riferimento ai
capitoli sulla sicurezza.
Attivazione dell'apparecchiatura
1. Collegare la spina alla presa di corrente.
2. Aprire il rubinetto dell’acqua.
3. Premere il tasto On/O per alcuni
secondi per attivare l’apparecchiatura.
Si sente un breve segnale acustico.
Impostazione di un programma
1. Ruotare il selettore del programma per
selezionare il programma di lavaggio
desiderato.
La spia del tasto Modalità Lavaggio si
illumina.
La spia del tasto Avvio/Sospendi
lampeggia.
Il display mostra la durata indicativa del
programma.
2. Per modicare la temperatura e/o la
velocità di centrifuga, premere i relativi
tasti.
3. Qualora lo si desideri, impostare una o
più opzioni toccando i relativi tasti. La
spia corrispondente si accende.
Se una selezione non è possibile
viene emesso un segnale acustico
e sul display compare
.
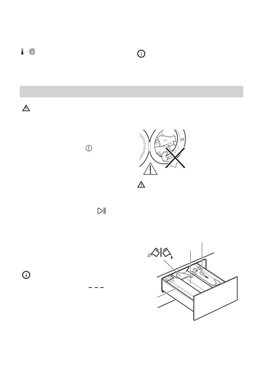
Caricare la biancheria
1. Aprire l'porta dell'apparecchiatura.
2. Svuotare le tasche e distendere gli
indumenti prima di metterli
nell'apparecchiatura.
3. Mettere la biancheria nel cesto, un capo
per volta.
Non superare il carico massimo consigliato
per ogni programma.
4. Chiudere saldamente l'oblò.
Vericare che non
resti bucato impigliato
fra la guarnizione e
l'oblò per evitare il
rischio di perdite di
acqua e danni al
bucato.
AVVERTENZA! Lavando le
macchie più oleose si potrebbero
danneggiare le parti in gomma
della lavatrice.
Aggiunta di detersivi e additivi
SOFTENER
WASH
PREWASH
ITALIANO 172

Table of Contents

Other manuals for IKEA TVATTAD

Related product manuals