EasyManua.ls Logo

IKEA TVATTAD - Utilização DIária

IKEA TVATTAD
340 pages
Print Icon
To Next Page IconTo Next Page
To Next Page IconTo Next Page
To Previous Page IconTo Previous Page
To Previous Page IconTo Previous Page
Loading...
Quando o programa termina (sequência
de sons durante 2 minutos).
Quando o aparelho tem uma anomalia
(sequência de sons curtos durante 5
minutos).
Para ativar/desativar os sinais sonoros de
m de programa, toque nos botões
e
em simultâneo durante 2 segundos. O visor
apresenta On ou O.
Se desativar os sinais sonoros,
estes só serão emitidos quando o
aparelho tiver uma anomalia.
Utilização diária
AVISO! Consulte os capítulos
relativos à segurança.
Ativar o aparelho
1. Ligue a cha na tomada elétrica.
2. Abra a torneira da água.
3. Prima o botão On/O durante alguns
segundos para ativar o aparelho.
É emitida uma pequena melodia.
Selecionar um programa
1. Rode o seletor de programas para
selecionar o programa de lavagem
pretendido.
O indicador do botão Modo de lavagem
acende-se.
O indicador do botão Início/Pausa
pisca.
O visor apresenta uma duração do programa
indicativa.
2. Para alterar a temperatura e/ou a
velocidade de centrifugação, toque nos
botões correspondentes.
3. Se desejar, selecione uma ou mais
opções tocando nos botões
correspondentes. Os indicadores
correspondentes acendem-se.
Se uma seleção não for possível,
o aparelho emite sinais sonoros e
o visor apresenta
.
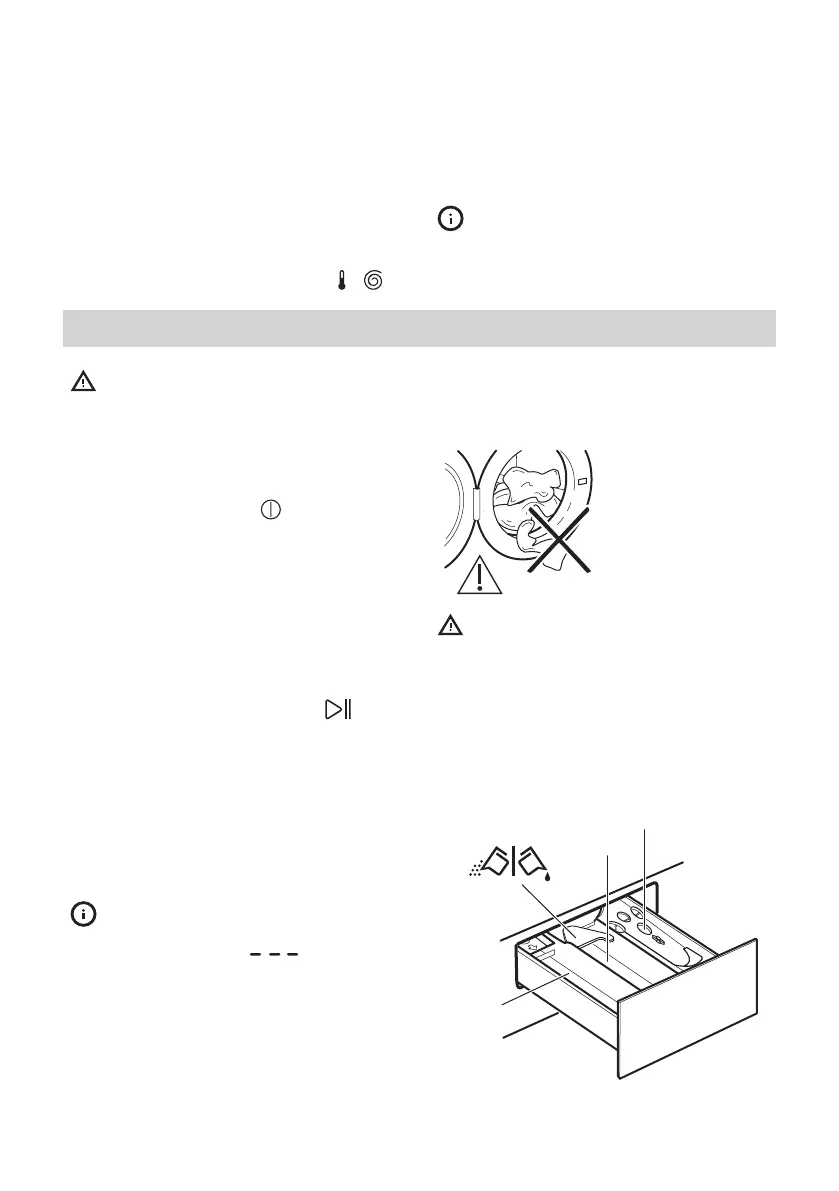
Carregar roupa
1. Abra a porta do aparelho.
2. Esvazie os bolsos da roupa e desdobre a
roupa antes de a colocar no aparelho.
3. Coloque a roupa no tambor, uma peça
de cada vez.
Não exceda a carga máxima recomendada
para cada programa.
4. Feche bem a porta.
Certique-se de que
nenhuma roupa ca
presa entre o vedante
e a porta, para evitar
o risco de fuga de
água e danos na
roupa.
AVISO! Lavar roupa muito
contaminada com óleo ou
manchas de gordura pode
danicar as peças de borracha da
máquina de lavar roupa.
Encher o detergente e aditivos
SOFTENER
WASH
PREWASH
PORTUGUÊS 313

Table of Contents

Other manuals for IKEA TVATTAD

Related product manuals