EasyManua.ls Logo

IKEA TVATTAD - Uso Diario

IKEA TVATTAD
340 pages
Print Icon
To Next Page IconTo Next Page
To Next Page IconTo Next Page
To Previous Page IconTo Previous Page
To Previous Page IconTo Previous Page
Loading...
toque las teclas y al mismo tiempo
dur
ante 2 segundos. En la pantalla aparece
On u O.
Si se desactivan las señales
acústicas, siguen funcionando
cuando el apar
ato presenta una
avería.
Uso diario
ADVERTENCIA! Consulte los
capítulos sobr
e seguridad.
Puesta en marcha del aparato
1. Conecte el enchufe a la toma de
corriente.
2. Abr
a la llave de paso.
3. Pulse el botón de encendido/apagado
durante unos segundos para activar el
apar
ato.
Se emite una breve melodía.
Congurar un pr
ograma
1. Gire el mando de programas para
seleccionar el programa de lavado
deseado.
El indicador del botón Modo de lavado se
enciende.
El indicador del botón Inicio/Pausa
parpadea.
La pantalla muestr
a una duración indicativa
del programa.
2. Para cambiar la temperatura o la
velocidad de centrifugado, toque los
botones correspondientes.
3. Si lo desea, puede ajustar una o varias
opciones tocando los botones
correspondientes. Se encienden los
indicadores correspondientes.
Cuando no es posible una
selección, una señal acústica avisa
y la pantalla muestr
a
.
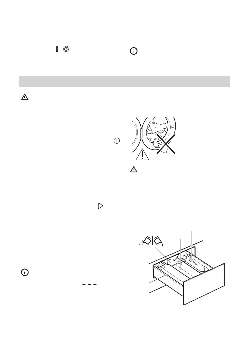
Cargar la colada
1. Abr
a la puerta del aparato.
2. Vacía los bolsillos y extienda las prendas
antes de introducirlas en el aparato.
3. Introduzca las prendas en el tambor, una
por una.
No supere la carga máxima recomendada
par
a cada programa.
4. Cierre bien la puerta.
Asegúrese de que no
quedan pr
endas
enganchadas entre el
sello y la puerta para
evitar riesgos de
fugas de agua y daños
la colada.
ADVERTENCIA! El lavado de
manchas muy intensas de aceite
o gr
asa puede dañar las piezas de
goma de la lavadora.
Introducción del detergente y los
aditivos
SOFTENER
WASH
PREWASH
ESPAÑOL 266

Table of Contents