EasyManua.ls Logo

IKEA TVATTAD - Page 232

IKEA TVATTAD
340 pages
Print Icon
To Next Page IconTo Next Page
To Next Page IconTo Next Page
To Previous Page IconTo Previous Page
To Previous Page IconTo Previous Page
Loading...
Gebruik het borsteltje
om de uitsparing
schoon te maken. Zo
zor
gt u ervoor dat alle
resten waspoeder
goed van de boven-
en onderkant van de
uitsparing worden
verwijderd.
Plaats de lade na het schoonmaken weer
terug in de uitsparing en laat een
spoelprogramma lopen zonder wasgoed in
de trommel om eventuele resten te
verwijderen.
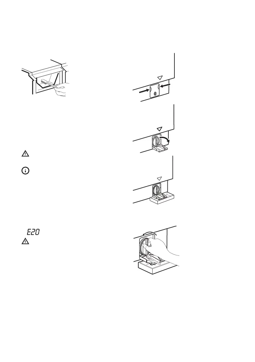
Maak de afvoerpomp schoon
WAARSCHUWING! Haal de
netstekker uit het stopcontact.
Controleer het lter van de
afvoerpomp r
egelmatig en houd
het schoon.
Reinig de afvoerpomp wanneer:
Het apparaat pompt geen water weg.
de trommel niet ronddraait.
het apparaat een ongebruikelijk geluid
maakt door een blokkade in de
afvoerpomp.
Op het display verschijnt de alarmcode
.
WAARSCHUWING!
Verwijder het lter niet als het
apparaat in gebruik is.
Reinig de pomp niet zolang het
water in de machine heet is.
Wacht tot het water is
afgekoeld
Voor reiniging van
de pomp gaat u als
volgt te werk:
1. Open het
pompdeksel.
2. Plaats een
geschikte bak onder
de
afvoerpompopening
om het afgepompte
water op te vangen.
Houd altijd een oude
doek bij de hand om
het eventueel
gemorste water te
kunnen opvegen als u
het lter verwijdert.
3. Dr
aai het lter 180
graden naar links om
het te openen, zonder
verwijdering. Laat het
water wegstromen.
4. Als de bak vol is
met water, draait u
het lter terug en
leegt u de bak.
5. Herhaal stappen 3
en 4 totdat er geen
water meer uitloopt.
NEDERLANDS 232

Table of Contents