EasyManua.ls Logo

IKEA TVATTAD - Operating the Appliance; Starting, Pausing, and Cancelling Cycles

IKEA TVATTAD
340 pages
Print Icon
To Next Page IconTo Next Page
To Next Page IconTo Next Page
To Previous Page IconTo Previous Page
To Previous Page IconTo Previous Page
Loading...
Activating the appliance
1. Connect the mains plug to the mains
socket.
2. Open the water tap.
3. Press the On/O
button for a few
seconds to activate the appliance.
A short tune sounds.
Setting a programme
1. Turn the programme knob to select the
desired washing programme.
The indicator of Mode Wash button
illuminates.
The indicator of the Start/Pause
button
ashes.
The display shows an indicative programme
duration.
2. To change the temperature and/or the
spin speed, touch the related buttons.
3. If desired, set one or more options by
touching the related buttons. The related
indicators illuminate.
If a selection is not possible an
acoustic signal sounds and the
display shows
.
Loading the laundry
1. Open the appliance door.
2. Empty the pockets and unfold the items
before you put them in the appliance.
3. Put the laundry in the drum, one item at
a time.
Do not exceed the maximum recommended
load for each programme.
4. Close the door rmly.
Make sure that no
laundry gets caught
between the seal and
the door to avoid risk
of water leakage and
damage to the
laundry.
Warning! Washing heavily oiled,
greasy stains could cause damage
to rubber parts of the washing
machine.
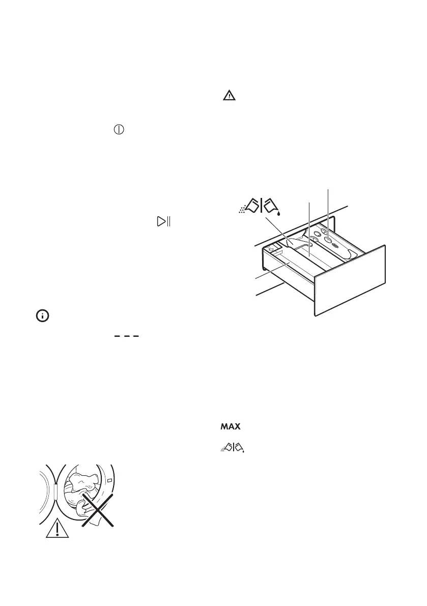
Filling the detergent and additives
SOFTENER
WASH
PREWASH
PREWASH - Compartment for prewash
phase, soak programme or stain remover.
The prewash and soak detergent is added at
the beginning of the wash programme
WASH - Compartment for washing phase.
SOFTENER - Compartment for fabric
softener and other liquid treatments (fabric
conditioner, starch).
- Maximum level for quantity of liquid
additives.
- Flap for powder or liquid detergent.
ENGLISH 25

Table of Contents

Other manuals for IKEA TVATTAD

Related product manuals