EasyManua.ls Logo

IKEA TVATTAD - Page 282

IKEA TVATTAD
340 pages
Print Icon
To Next Page IconTo Next Page
To Next Page IconTo Next Page
To Previous Page IconTo Previous Page
To Previous Page IconTo Previous Page
Loading...
apagado demasiado pronto. Si el código de alarma vuelve a aparecer, póngase en contacto
con el Centro de servicio técnico.
- El aparato no carga agua correctamente. Después de la vericación
correspondiente, ponga en marcha el aparato pulsando Inicio/Pausa , el aparato
intenta reanudar el ciclo. Si el error persiste, el código de alarma aparece de nuevo.
- El aparato no desagua.
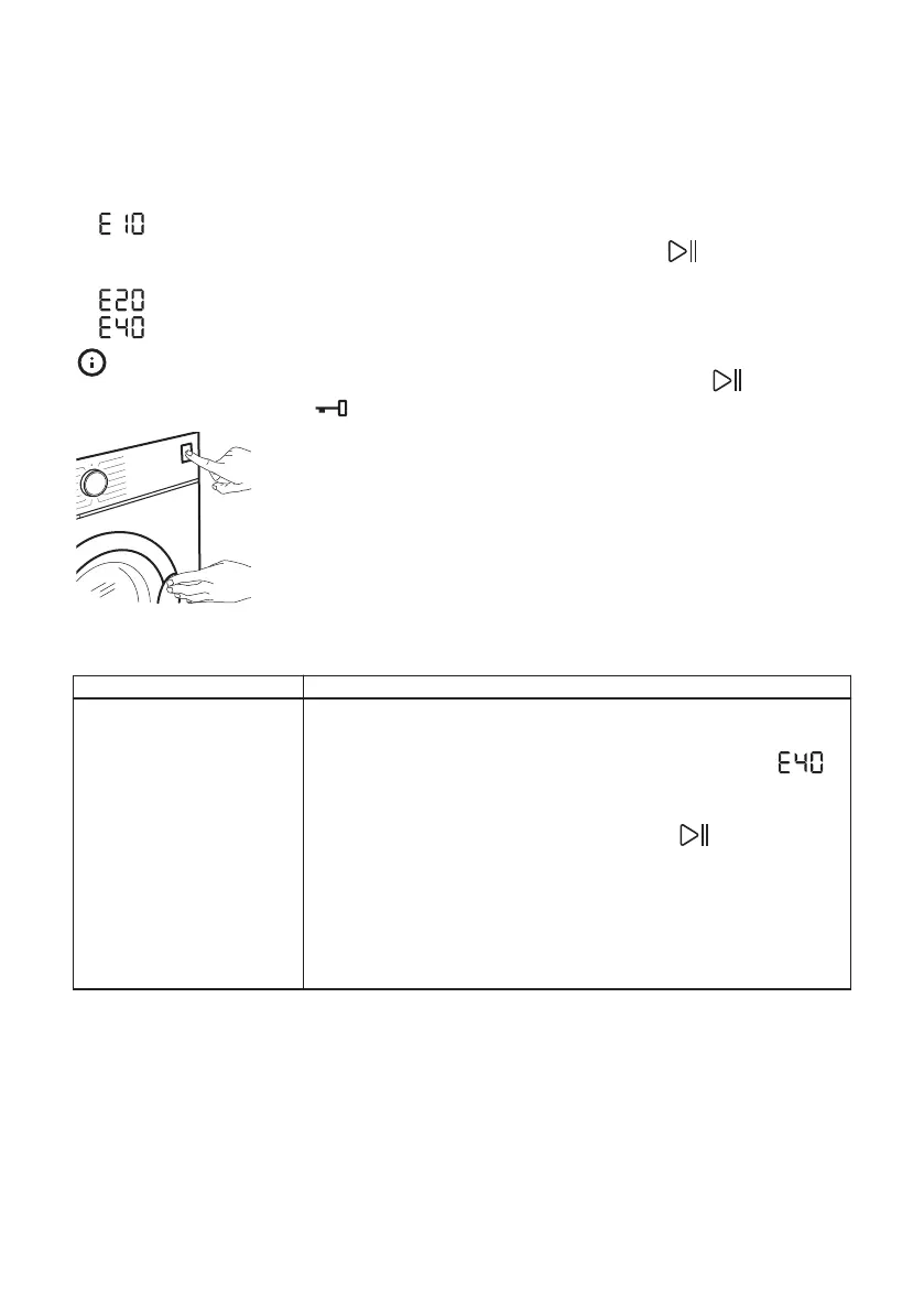
- La puerta del aparato está abierta o no está bien cerrada. ¡Revise la puerta!
Si el aparato está sobrecargado, saque algunas prendas del tambor y/o
mantenga presionada la puerta a la vez que toca el botón Inicio/Pausa
hasta que el indicador deje de parpadear (consulte la imagen siguiente).
Posibles fallos
Problema Posible solución
El programa no se pone
en marcha.
Asegúrese de que el enchufe esté conectado a la toma de co‐
rriente.
Asegúrese de que la puerta del aparato esté cerrada.
Asegúrese de que no hay ningún fusible dañado en la caja de
fusibles.
Asegúrese de haber pulsado Inicio/Pausa .
Si se ha ajustado el inicio diferido, cancele el ajuste o espere
hasta el nal de la cuenta atrás.
Desactive la función de bloqueo de seguridad para niños si
está activada.
Compruebe la oposición del mando en el programa seleccio‐
nado.
ESPAÑOL 282

Table of Contents

Other manuals for IKEA TVATTAD

Related product manuals