EasyManua.ls Logo

Ikra PCS 2525 - Page 10

Ikra PCS 2525
Print Icon
To Next Page IconTo Next Page
To Next Page IconTo Next Page
To Previous Page IconTo Previous Page
To Previous Page IconTo Previous Page
Loading...
9
DE | Gebrauchsanweisung
WICHTIG
Der Öltank sollte fast leer sein, wenn der Kraftstoff auf-
gebraucht ist. Achten Sie darauf, den Öltank jedes Mal
aufzufüllen, wenn Sie die Säge tanken.
VERGASEREINSTELLUNG
Der Vergaser Ihres Geräts wurde werkseitig eingestellt.
Aufgrund wechselnder Betriebsbedingungen könnte je-
doch eine Feineinstellung notwendig sein. Vergewissern
Sie sich vor der Einstellung des Vergasers davon, dass
sauberere Luft- und Kraftstofflter sowie frischer, ord-
nungsgemäß gemischter Kraftstoff vorhanden ist.
Befolgen Sie bei der Einstellung folgende Schritte.
WICHTIG
Stellen Sie sicher, dass Sie den Vergaser bei eingebau-
ter Kette einstellen.
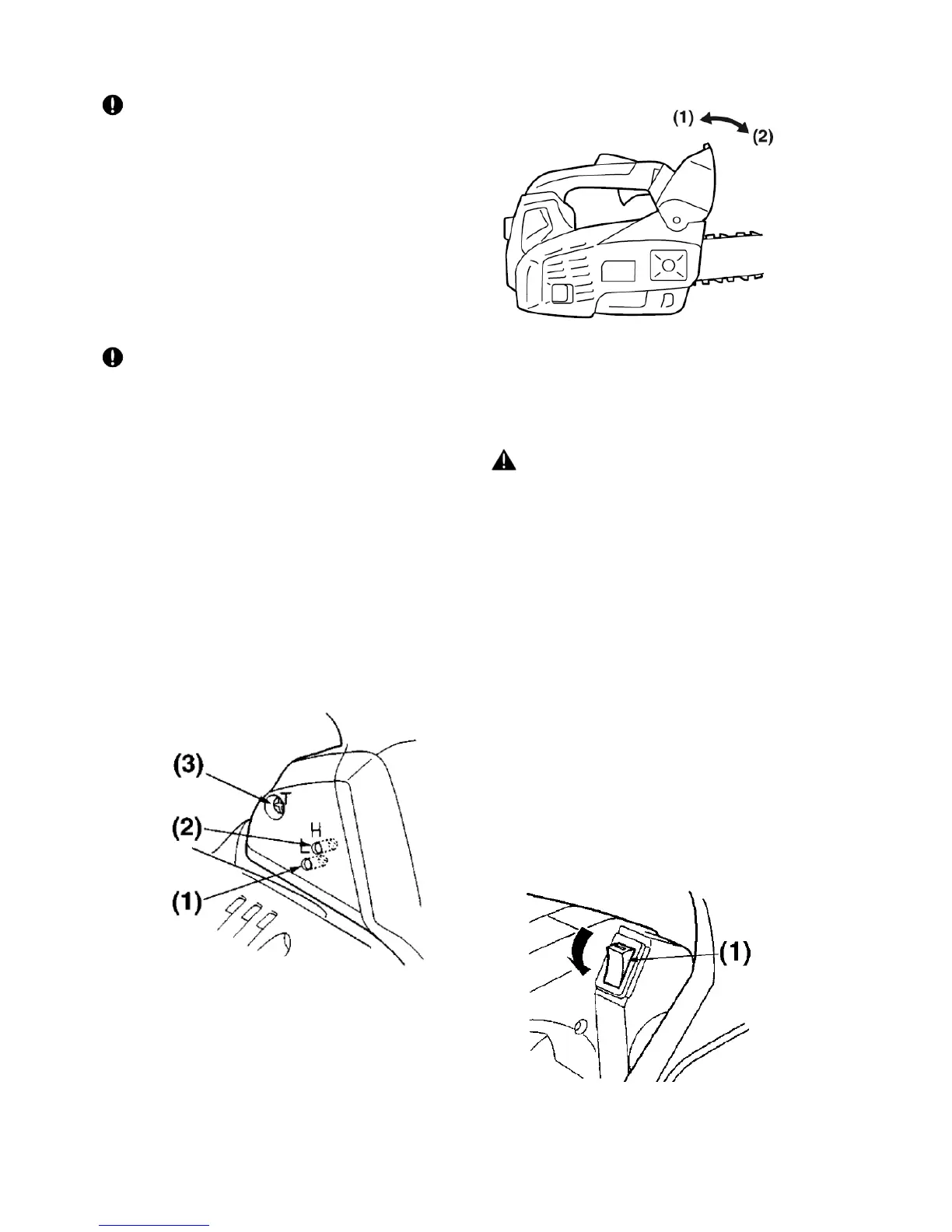
1. Motor abstellen und beide, sowohl die H- als auch
die L-Nadeln bis zum Anschlag eindrehen. Keine
Gewalt anwenden. Dann drehen Sie sie wieder um
die ursprüngliche Anzahl der Drehungen zurück, wie
unten gezeigt.
H Nadel -
1
/
4
L Nadel -
1
/
4
2. Starten Sie den Motor und lassen Sie ihn einige Mi-
nuten warmlaufen.
3. Drehen Sie die Leerlaufeinstellschraube (T) gegen
den Uhrzeigersinn, so dass sich die Sägekette nicht
dreht. Wenn die Leerlaufdrehzahl zu hoch ist, drehen
Sie die Schraube im Uhrzeigersinn.
4. Machen Sie einen Testschnitt. Stellen Sie die H-
Nadel auf die beste Schnittleistung und nicht auf die
höchste Geschwindigkeit ein.
(1) L-Nadel
(2) H-Nadel
(3) Leerlaufeinstellschraube
KETTENBREMSE
Die Kettenbremse ist eine Vorrichtung, die die Kette
sofort anhält, wenn die Kettensäge wegen eines Rück-
schlags zurückschlägt. Normalerweise wird die Bremse
automatisch durch die Trägheitskraft aktiviert. Sie kann
auch manuell aktiviert werden, indem der Bremshebel
(Handschutz) nach vorn gedrückt wird.
Wenn die Bremse in Betrieb ist, springt ein weißer Konus
aus der Halterung des Bremshebels.
(1) Lösen der Bremse
(2) Aktivieren der Bremse
Bremse lösen
Ziehen Sie den Bremshebel zurück in Richtung des
Griffs für die linke Hand, bis er in dieser Position ein-
rastet.
WARNUNG
Lassen Sie beim Betrieb der Bremse den Gashe-
bel los, um die Motordrehzahl zu verringern. Ein
längerer Betrieb bei angezogener Bremse erzeugt
Wärme an der Kupplung und kann zu Problemen
führen.
Überprüfen Sie bei jeder Geräteinspektion vor den
einzelnen Arbeitsgängen den Betriebszustand der
Bremse anhand nachfolgender Schritte.
1. Starten Sie den Motor und halten Sie den Griff sicher
mit beiden Händen fest.
2. Drücken Sie den Bremshebel bei gedrücktem Gas-
hebel und laufender Kette mit Ihrem linken Handrü-
cken nach unten und nach vorn.
3. Lassen Sie den Gashebel los, wenn die Bremse
funktioniert und die Kette gestoppt wurde.
4. Lösen Sie die Bremse.
Motor stoppen
1. Lassen Sie den Gashebel los, um der Maschine für
ein paar Minuten Leerlauf zu ermöglichen.
2. Stellen Sie den Schalter auf die Position „O“ (STOPP).
(1) Motor-Schalter

Table of Contents

Related product manuals