EasyManua.ls Logo

Ikra PCS 2525 - Serrar

Ikra PCS 2525
Print Icon
To Next Page IconTo Next Page
To Next Page IconTo Next Page
To Previous Page IconTo Previous Page
To Previous Page IconTo Previous Page
Loading...
9
PT | Manual de instruções
Para anar, siga os passos seguintes:
IMPORTANTE
Assegure-se que ana o carburador com a corrente co-
locada.
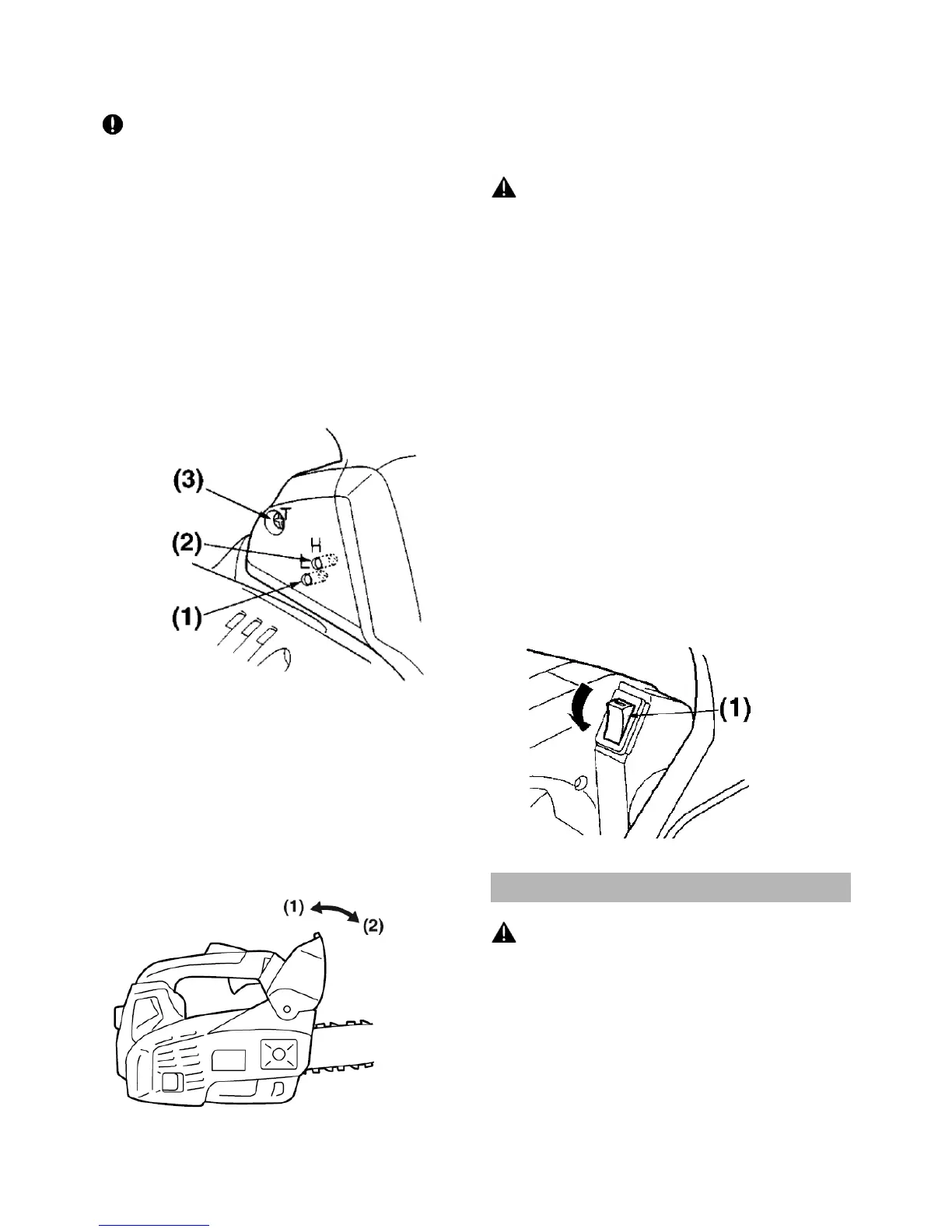
1. As agulhas H e L são limitadas quanto ao número de
voltas como mostrado.
H agulha –1/4
L agulha –1/4
2. Arranque o motor e deixe-o aquecer com meio ace-
lerador.
3. Rode o parafuso de ajuste do ralenti (T) no senti-
do antihorário de forma a que corrente da serra não
rode. Se a velocidade de ralenti for demasiado lenta,
rode o parafuso no sentido horário.
4. Faça um corte de teste e ajuste a agulha H para a
melhor potência de corte, não para a maxima velo-
cidade.
(1) L agulha
(2) H agulha
(3)Parafusodeajustedaagulha
Travão de corrente
O travão de corrente é um sistema que interrompe a
corrente de imediato, se a serra salta por causa do re-
cuo. Normalmente, o freio é acionado automaticamente
por força inercial. Ele também pode ser activado manu-
almente pressionando a alavanca do freio (protecção
do punho da frente) para baixo e para frente. Quando
o freio opera, um cone branco aparece na base da
alavanca do freio.
(1) Solta o travão.
(2) Activa o travão
Libertando o travão
Para libertar o travão, puxe para cima a guarda dianteira
na direcção do punho dianteiro até se ouvir um som
“click„.
ATENÇÃO
Quando o travão opera, solte a alavanca do acele-
rador para abrandar a velocidade do motor. Ope-
ração contínua com o travão envolvido irá gerar
o calor da embreagem e pode causar problemas.
Certique-se de conrmar operação de travagem
na inspeção diária.
Na inspecção da máquina antes de cada trabalho,
vericar a condição de funcionamento do travão,
seguindo os passos abaixo:
1. Ligue o motor e segura a pega de forma segura com
as duas mãos.
2. Puxar a alavanca do acelerador para manter a ope-
ração da corrente, empurre a alavanca do travão (da
esquerda guarda) para baixo em direcção à frente
usando as costas de sua mão esquerda.
3. Quando o travão funciona e a corrente é interrompi-
da, solte a alavanca do acelerador.
4. Solte o travão.
Paragem do motor
1. Liberte a alavanca do interruptor deixando o motor
ao ralenti durante alguns minutes.
2. Regule o interruptor na posição “O”.
(1) Interruptor
8. Serrar
ATENÇÃO
Antes de continuar o seu trabalho, leia a secção “Para
operação em segurança„. Recomeda-se que pratique
primeiro serrando toros fáceis. Isto também o ajuda a
habituar- se à sua unidade. Siga sempre os regulamen-
tos de segurança. A motoserra deverá ser usada apenas
para cortarmadeira. É proibido cortar outros tipos de
material. Vibrações e recuos variam com diferentes ma-
teriais e os requisitos dos regulamentos de segurança
não seriam respeitados. Não use a motoserra como
uma alavanca para levantar, deslocar ou separar objec-
tos. Não a bloqueie em suportes xos. É proibido ligar
ferramentas ou aplicações à saída de potência excepto
os especicados pelo fabricante.

Table of Contents

Related product manuals