EasyManua.ls Logo

Ikra PCS 2525 - Parts Location

Ikra PCS 2525
Print Icon
To Next Page IconTo Next Page
To Next Page IconTo Next Page
To Previous Page IconTo Previous Page
To Previous Page IconTo Previous Page
Loading...
GB | Operating Instructions
3
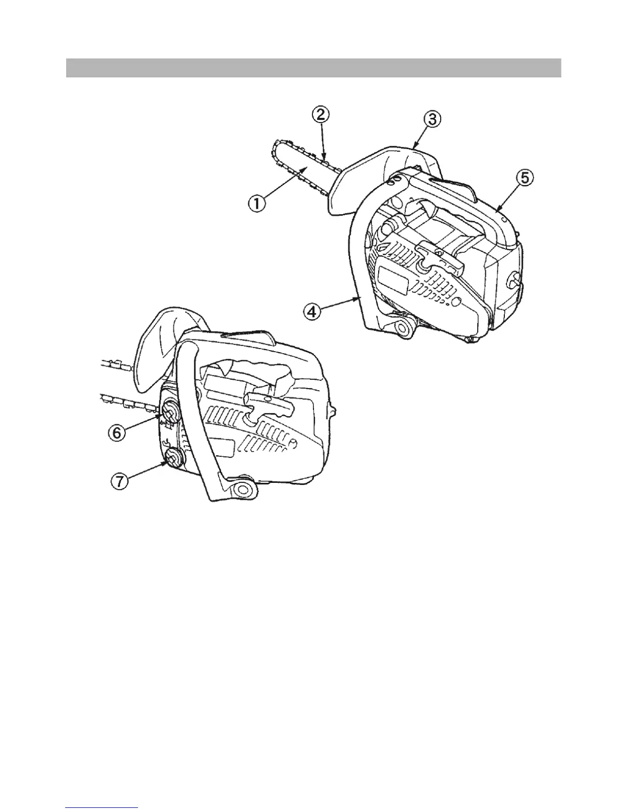
2. Parts location
1. Guard bar
2. Saw chain
3. Front hand guard
4. Front handle
5. Rear handle
6. Fuel tank
7. Oil tank

Table of Contents

Related product manuals