EasyManua.ls Logo

Ikra PCS 2525 - Page 46

Ikra PCS 2525
Print Icon
To Next Page IconTo Next Page
To Next Page IconTo Next Page
To Previous Page IconTo Previous Page
To Previous Page IconTo Previous Page
Loading...
8
PT | Manual de instruções
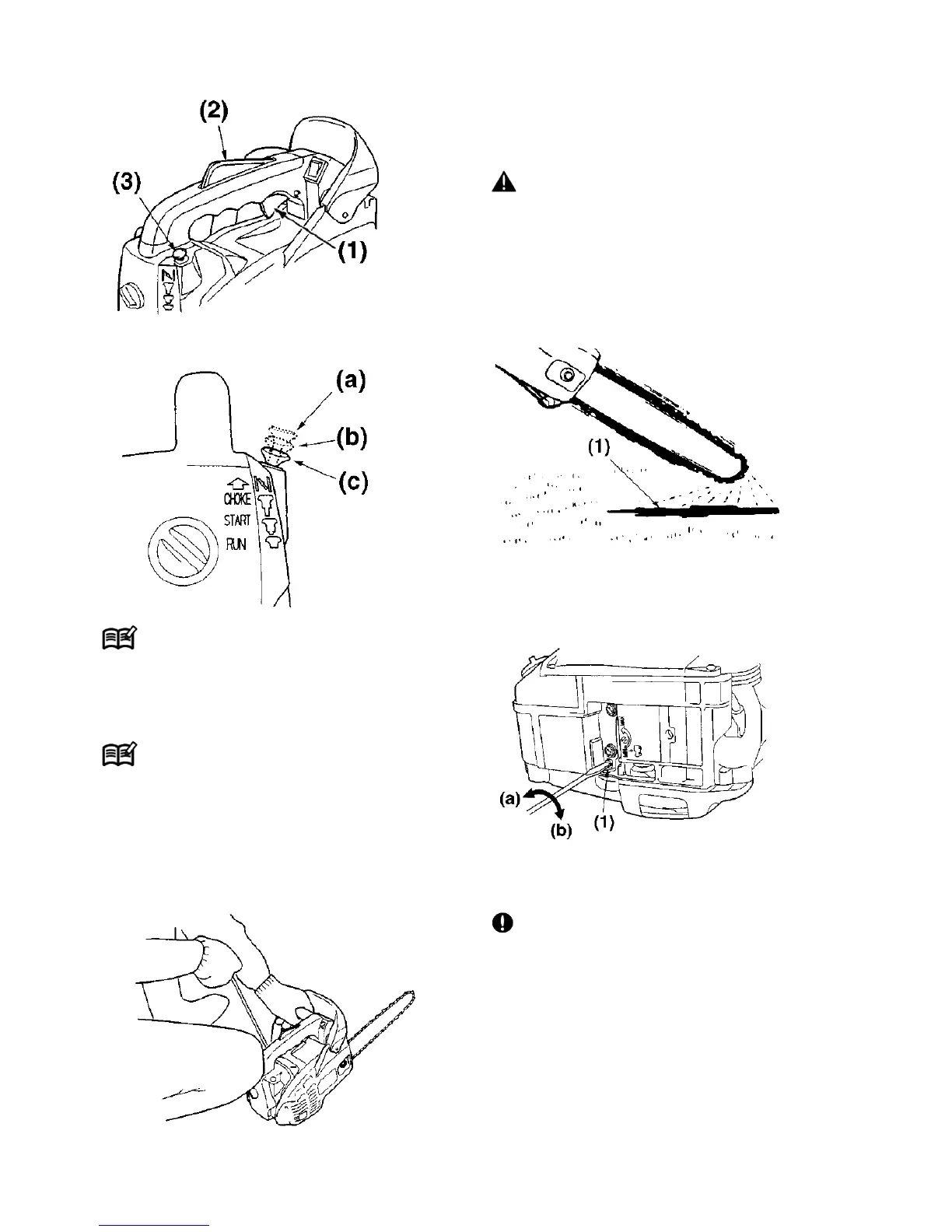
(1) Alavanca do acelerador
(2) Bloqueio de acelerador
(3) Botão do estrangulador
(a) Quando o motor
está frio
(b) Quando o motor
está quente
(c) Depois do arranque
do motor
NOTA
Ao reniciar imediatamente após parar o motor, coloque
o botão estrangulador na posição de primeiro estágio
(estrangulador aberto e alavanca de acelerador na po-
sição de arranque).
NOTA
Uma vez que o botão do estrangulador tenha sido pu-
xado para for a, não voltará para posição de operação
mesmo se o pressionar com o dedo. Quando quiser
fazer voltar o botão do estrangulador à posição de
funcionamento, puxe para fora a alvanca do acelerador.
5. Enquanto segura rmemente a serra no chão, puxe
vigorosamente a corda de arranque.
6. Quando o motor tiver pegado, primeiro empurre o
botão do estrangulador para a posição de primeiro
estágio e depois puxe novamente o arranque para
arrancar o motor.
7. Deixe o motor aquecer com a alavanca do acele-
rador ligei.
ATENÇÃO
Antes de ligar o motor, verique que a serra não entra
em contacto com nada.
VERIFICAÇÃO DO DÉBITO DE ÓLEO
Depois de arrancar o motor, faça rodar a corrente a
média velocidade e verique se o óleo da corrente é
dispersado como indicado na gura.
(1) Óleo da corrente
O uxo de óleo da corrente pode ser alterado através
da inserção de uma chave de fenda no buraco na parte
inferior do lado da embreagem. Ajustar de acordo com
suas condições de trabalho.
(1)Canaldeuxodeóleo,ajustandooseueixo
(a) Abastado
(b) Repousar
IMPORTANTE
O tanque de óleo deve tornar-se quase vazio, enquanto
o combustível se esgota. Certique-se de encher o
tanque de óleo a cada vez que substituir o combustível
na serra.
REGULAÇÃO DO CARBURADOR
O carburador da sua unidade foi regulado na fábrica,
mas poderá necessitar de ser anado devido a alteração
das condições de operação. Antes de ajustar o carbu-
rador, assegure-se de que os ltros de ar/combustível
estão limpos e novos e de que o combustível tenha a
mistura correcta.

Table of Contents

Related product manuals