EasyManua.ls Logo

Ikra PCS 2525 - Page 28

Ikra PCS 2525
Print Icon
To Next Page IconTo Next Page
To Next Page IconTo Next Page
To Previous Page IconTo Previous Page
To Previous Page IconTo Previous Page
Loading...
8
ES | Instrucciones de servicio
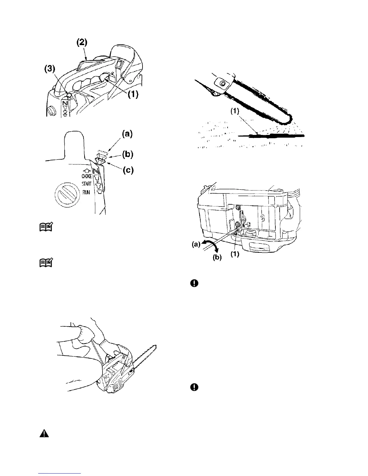
(1) Gatillo acelerador
(2) Bloqueo del acelerador
(3) Mando starter
(a) Cuando el motor esté
frío
(b) Cuando el motor esté
caliente
(c) Después de poner en
marcha el motor
NOTA
Si arranca el motor inmediatamente después de pararlo,
ponga el starter en la posición (b) y el acelerador en la
posición inicial.
NOTA
Una vez que haya tirado del botón del starter, este no
volverá a su posición, ni incluso apretándolo con el
dedo. Para ponerlo en su lugar solamente con apretar el
acelerador, este volverá a su posición.
5. Mantenga la motosierra de forma segura en el suelo
y tirar de la cuerda de arranque con fuerza.
6. Si no la arranca, vuelva a poner el estarter y tire del
motor de arranque de nuevo para arrancar el motor.
7. Deje que el motor se caliente dándole un poco de
gas al acelerador.
ADVERTENCIA
Antes de arrancar el motor, asegúrese de que la moto-
sierra no está en contacto con ninguna cosa.
COMPRUEBE LA LUBRIFICACIÓN DE LA CADENA
Después de arrancar el motor, poner la cadena a veloci-
dad media para ver si el aceite salpica, como se muestra
en la gura.
(1) Aceite de cadena
El ujo de aceite de la cadena se puede cambiar me-
diante la inserción de un destornillador en el agujero
en la parte inferior del lado del embrague. Ajustar de
acuerdo a las condiciones de su trabajo.
(1) ornillo ajuste caudal aceite
(a) Aumenta el caudal
(b) Disminuye el caudal
IMPORTANTE
El depósito de aceite suele vaciarse al mismo tiempo
que se gasta un depósito de combustible. Asegúrese de
volver a llenar el tanque de aceite cada vez que recarga
la sierra de combustible.
AJUSTE CARBURADOR
El carburador en su unidad ha sido ajustado de fábrica,
pero puede requerir ajuste debido al cambio en las
condiciones de funcionamiento. Antes de ajustar el
carburador, asegúrese de que siempre cuentan con aire
limpio / ltros de combustible y combustible fresco, bien
mezcladas.
Cuando se ajuste, siga los siguientes pasos:
IMPORTANTE
Asegúrese de ajustar el carburador con la barra de ca-
dena bien sujeta.
1. Los tornillos H y L están restringidos al número de
vuelvas que se muestra a continuación.
Tornillo H – 1/4
Tornillo L – 1/4
2. Arranque el motor y deje que se caliente a baja velo-
cidad durante unos minutos.

Table of Contents

Related product manuals