EasyManua.ls Logo

Ikra PCS 2525 - Page 66

Ikra PCS 2525
Print Icon
To Next Page IconTo Next Page
To Next Page IconTo Next Page
To Previous Page IconTo Previous Page
To Previous Page IconTo Previous Page
Loading...
9
FR | Manuel d’utilisation
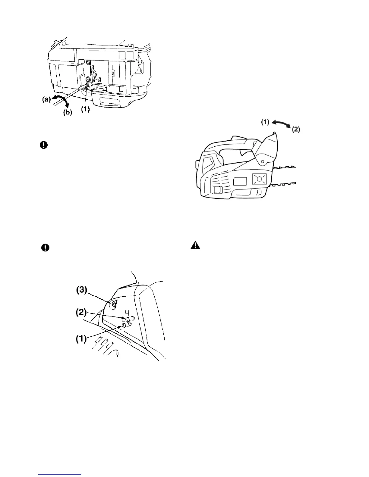
1) Écoulement de l’huile de
chaîne en ajustant son axe
2) Important
3) Faible
IMPORTANT
Le réservoir d’huile doit devenir pratiquement vide pen-
dant que le carburant est épuisé. Faites en sorte de rem-
plir le réservoir d’huile chaque fois que vous remettez du
carburant dans la tronçonneuse.
Reglage du carburateur
Le carburateur sur votre unité a été réglé en usine, mais
peut nécessiter un réglage n en raison du changement
des conditions de fonctionnement. Avant de régler le
carburateur, s’assurer que des ltres à air/carburant
propres et du carburant frais et correctement mélangé
sont fournis.
Lors du réglage, procédez comme suit:
IMPORTANT
Veiller à régler le carburateur avec la chaîne à barres
attachée.
(1) Aiguille L
(2) Aiguille H
(3) Vis de réglage de ralenti
1. Les aiguilles H et L sont limitées en nombre de tours
comme indiqué ci-après.
Aiguille H - 1/4
Aiguille L - 1/4
2. Démarrer le moteur et le laisser chauffer à bas ré-
gime pendant quelques minutes.
3. Tourner la vis de réglage de ralenti (T) dans le sens
contraire des aiguilles d’une montre de manière à ce
que la chaîne de la scie ne tourne pas. Si la vitesse
de ralenti est trop faible, tourner la vis dans le sens
des aiguilles d’une montre.
4. Effectuer une coupe d’essai, ajuster l’aiguille H pour
une meilleure puissance de coupe, pas à la vitesse
maximum.
Frein de chaîne
Le frein de chaîne est un dispositif qui arrête la chaîne
instantanément si la scie à chaîne recule sous l’effet d’un
rebond. Normalement, le frein est activé automatique-
ment par la force d’inertie. Il peut également être activé
manuellement en tirant le levier de frein (garde gauche)
en bas et vers l’avant. Lorsque le frein fonctionne, un
cône blanc se déroule de la base du levier de frein.
(1) Relâche le frein
(2) Actionne le frein
Relâcher le frein
Tirer le levier de frein en haut vers la poignée gauche
jusqu’à ce qu’il s’encliquète.
AVERTISSEMENT
Lorsque le frein fonctionne, relâcher le levier
d’étranglement pour ralentir la vitesse du moteur.
Le fonctionnement continu avec le frein engagé
génère de la chaleur à partir de l’embrayage et
peut entraîner des dysfonctionnements.
Lors de l’inspection de la machine avant chaque
tâche, vérier l’état de fonctionnement du frein en
suivant les étapes suivantes.
1. Démarrer le moteur et saisir la poignée fermement
avec les deux mains.
2. Tirer le levier d’étranglement pour maintenir le fonc-
tionnement de la chaîne, pousser le levier de frein
(garde gauche) vers l’avant avec le dos de votre
main gauche.
3. Lorsque le frein fonctionne et la chaîne est arrêtée,
relâcher le levier d’accélération.
4. Relâcher le frein.

Table of Contents

Related product manuals