EasyManua.ls Logo

Image IMTL315040 - Assembly

Image IMTL315040
32 pages
Print Icon
To Next Page IconTo Next Page
To Next Page IconTo Next Page
To Previous Page IconTo Previous Page
To Previous Page IconTo Previous Page
Loading...
ASSEMBLY
Assembly requires two persons. Set the treadmill in a cleared area and remove all packing materials. Do not
dispose of the packing materials until assembly is completed. Assembly requires the included allen wrench
and 90° screwdriver and your own Phillips screwdriver and needlenose pliers .
Note: The underside of the treadmill walking belt is coated with high-performance lubricant. During shipping, a
small amount of lubricant may be transferred to the top of the walking belt or the shipping carton. This is a normal
condition and does not affect treadmill performance. If there is lubricant on top of the walking belt, simply wipe off
the lubricant with a soft cloth and a mild, non-abrasive cleaner.
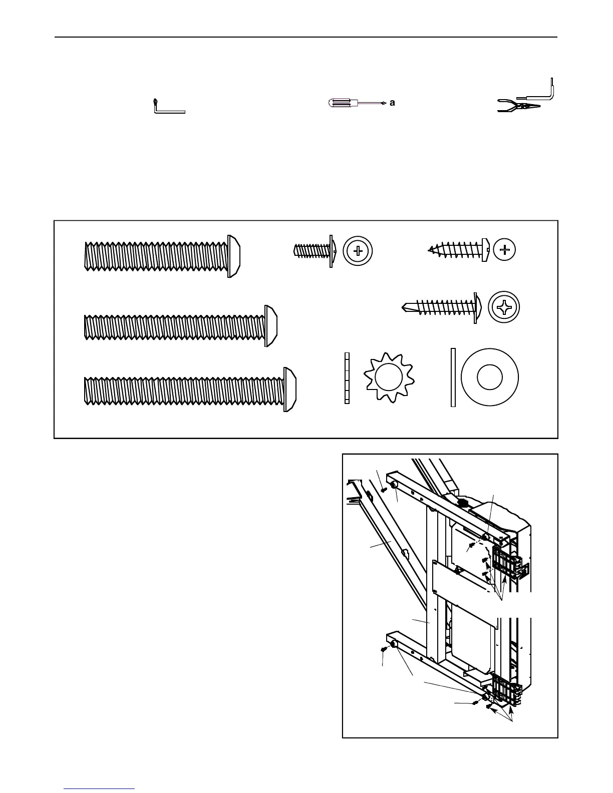
For help identifying the assembly hardware, see the drawings below. Note: The assembly hardware and other
small parts are packaged in separate part bags. Do not open the part bags until instructed to do so.
6
1. Make sure that the power cord is not plugged in.
With the help of a second person, carefully tip the
treadmill onto its left side. Partially fold the Frame (12) so
that the treadmill will be more stable. Do not fully fold
the treadmill until it is completely assembled.
Remove the indicated screws and the two casters from
the Base (82). Discard the casters.
Open part bag A. Attach the four Base Pads (97) to the
bottom of the Base (82) with four 1” Tek Screws (115).
97
12
97
115
115
Remove
97
115
82
Star Washer (29)–2
Wheel Nut (38)–2
3/8” Washer
(66)–8
Star Washer (9)–6
(May be an internal Star Washer)
Wheel Nut (104)–2
3/8” Washer (11)–6
3/8” Star Washer
(69)–2
5/16” Washer (31)–4
U-nut (105)–4
3” Bolt (2)–4
1” Bolt (12)–6
Silver Ground
Screw (87)–1
1 1/4” Tek Screw (58)–4
Crossbar Screw (69)–2
1/2” Screw (84)–2
3/4” Screw (90)–6
3/8” Washer (11)–6
5/16” Star Washer
(64)–4
3” Bolt (30)–4
3” Bolt (30)–4
3/8 Star
Washer (42)–6
6 1/2” Bolt (10)–2
3/4” Tek Screw (24)–4
3” Bolt (2)–4
2” Bolt (12)–6
Wheel Nut (29)–2
3/4” Screw (7)–10
Rack Screw (21)–12
3” Bolt (30)–4
Washer (98)–2
3/4” Bolt (97)–2
3/8” Washer
014132
1/4” Washer
014063
#8 x 3/4”
013322
3/8” Jamb Nut
119425
3/8” Nut
012149
3/4” Tek Screw
013300
2” Custom Bolt
169721
2 3/4” Bolt (47 )–4
2 3/4” Bolt (47)–4
Wheel Bolt (86)–2
1” Tek Screw (115)–4
Star Washer (81)–4
Washer (29)–4
3/4” Screw (39)–6
1/2” Silver Screw (107)–1
Latch Screw (85)–2
1/2” Screw (107)–1
1/4” x 1” Bolt
014132
3/8” x 2” Bolt
013601
2 1/2” Bolt (56)–2
Remove
1
115

Related product manuals