EasyManua.ls Logo

Immergas EOLO Extra 24 kW - Page 7

Immergas EOLO Extra 24 kW
40 pages
Print Icon
To Next Page IconTo Next Page
To Next Page IconTo Next Page
To Previous Page IconTo Previous Page
To Previous Page IconTo Previous Page
Loading...
5
STEEkW ed 01/06 EOLO Extra kW
Technical Documentation
Technical Documentation
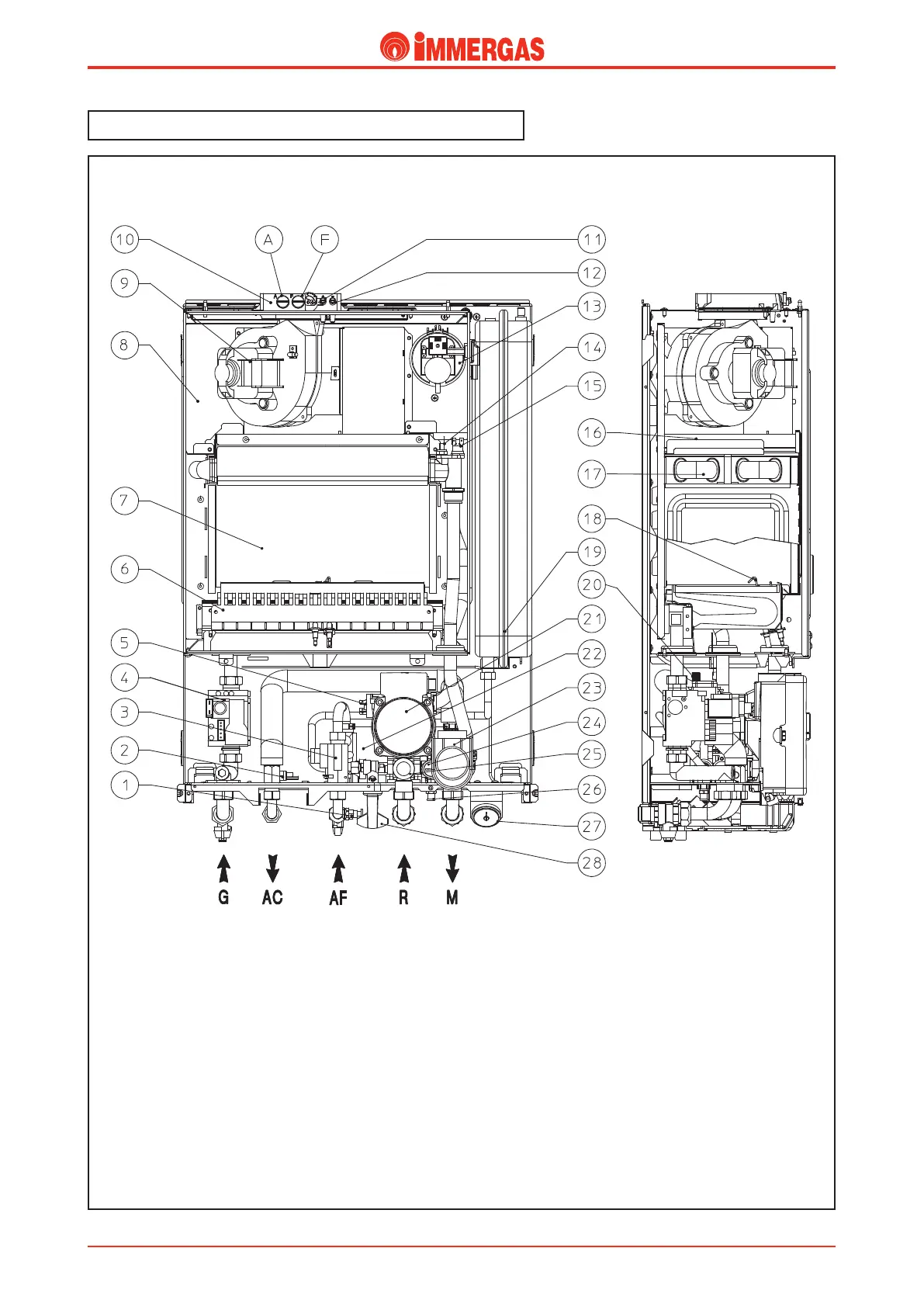
EOLO Extra 28-32 kW main components.
Legenda:
1 - Domestic water draining fitting
2 - Domestic water probe
3 - D.h.w. flow switch
4 - Gas valve
5 - System pressure switch
6 - Burner
7 - Combustion chamber
8 - Airtight chamber
9 - Fan
10 - Testing hole (air A) - (fumes F)
11 - Pressure point with positive signal
12 - Pressure point with negative signal
13 - Flue pressure switch
14 - Delivery probe
15 - Safety thermostat
16 - Draught diverter
17 - Primary exchanger
18 - Ignition and detection electrodes
19 - System expansion vessel
20 - Automatic air vent
21 - Boiler circulator
22 - D.h.w. exchanger
23 - 3-way valve (motorised)
24 - Automatic by-pass
25 - 3-bar safety valve
26 - System draining cock
27 - Boiler pressure gauge
28 - System filling valve

Related product manuals