EasyManua.ls Logo

Immergas EOLO Star - Hot Water Hydraulic Circuit

Immergas EOLO Star
32 pages
Print Icon
To Next Page IconTo Next Page
To Next Page IconTo Next Page
To Previous Page IconTo Previous Page
To Previous Page IconTo Previous Page
Loading...
Technical documentation Technical documentation
STES ed 07/01
6
EOLO STAR
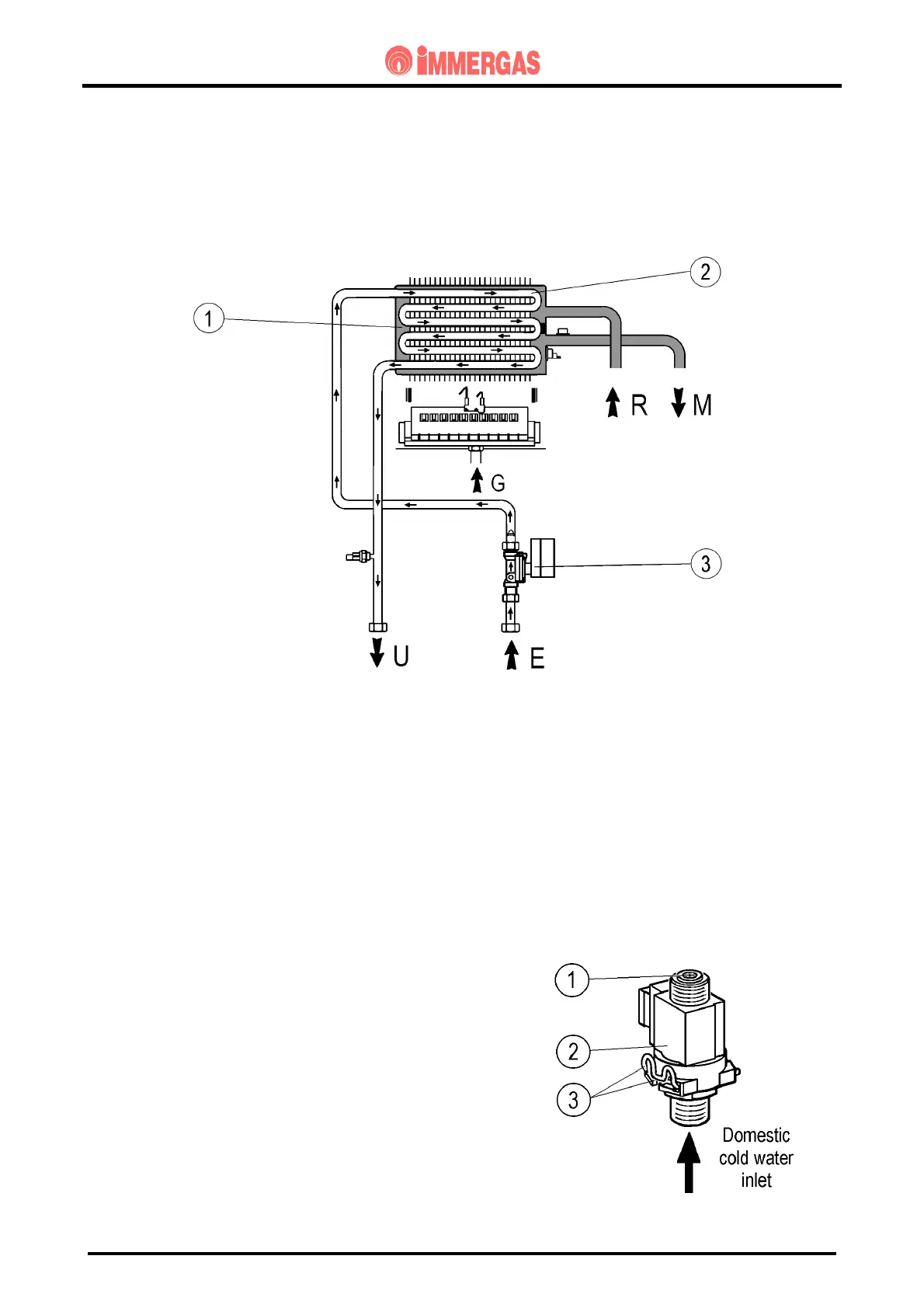
HYDRAULIC CIRCUIT
HOT WATER CIRCUIT
- OPERATION
Running the hot water results in transit of cold water inside the flow switch (3) and consequent
closing of the electrical contact coupled to this (see electrical circuit).
As a result, the regulation circuit begins an operating stage with hot-water priority that starts the
burner and, if a central heating request is under way, switches off the boiler pump.
This way, the heat in the fumes produced by combustion is absorbed by the copper blades of the
bithermal exchanger (1) and transferred to the heating circuit water which, in turn, transfers it to the
cold water circuit inside the "cross-shaped" hot-water circuit pipes (2).
- HOT WATER FLOW SWITCH
Whenever hot water is run at a rate of at least 2.5 l/min
and with a dynamic pressure of 0.26 bar, the flow
switch (2) enables the boiler to operate in hot-water
mode.
This is done by means of a magnet which, by lifting
when invested by the cold water flow, moves near to an
electrical contact (reed relay) and causes movement by
means of a magnetic effect.

Other manuals for Immergas EOLO Star

Related product manuals