EasyManua.ls Logo

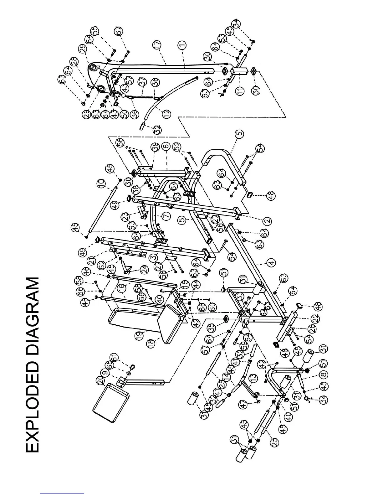
Impex COMPETITOR CB-430 - Exploded Diagram

Impex COMPETITOR CB-430
13 pages
Print Icon
To Next Page IconTo Next Page
To Next Page IconTo Next Page
To Previous Page IconTo Previous Page
To Previous Page IconTo Previous Page
Loading...
10

Related product manuals