EasyManua.ls Logo

Indesit IT50G - Control Panel

Indesit IT50G
24 pages
Print Icon
To Next Page IconTo Next Page
To Next Page IconTo Next Page
To Previous Page IconTo Previous Page
To Previous Page IconTo Previous Page
Loading...
10
GB
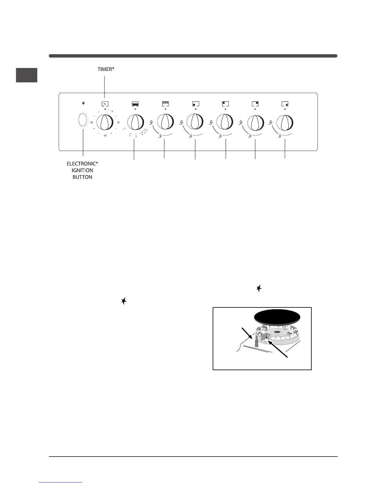
Control Knobs for the gas burners
The position of the gas burner controlled by each one of the knobs is shown by a solid ring
. To light one of
the burners, hold a lighted match or lighter near the burner and, at the same time, press down and turn the
corresponding knob counter clockwise to the
maximum maximum
maximum maximum
maximum
E
setting. Each burner can be operated at its
maximum, minimum or intermediate power. Shown on the knob are the different symbols for off
(the knob is
on this setting when the symbol corresponds with the reference mark on the control panel), for
maximum maximum
maximum maximum
maximum
E
and
minimum minimum
minimum minimum
minimum
C
..
..
. To obtain these settings, turn the knob counter clockwise with respect to the off position. To
turn off the burner, turn the knob clockwise until it stops (corresponding again with the
symbol).
Electronic Ignition for the Gas Hob*
This device operates when a slight pressure is applied to the button marked with symbol. To light a specific
Control Panel
burner just press the button while pushing the
corresponding knob all the way in and turning it
counter-clockwise until it lights.
For immediateFor immediate
For immediateFor immediate
For immediate
lighting, first press the button and then turnlighting, first press the button and then turn
lighting, first press the button and then turnlighting, first press the button and then turn
lighting, first press the button and then turn
the knobthe knob
the knobthe knob
the knob.
! Should the burner flames accidentally go out,
turn off the control knob and wait at least 1
minute before trying to relight.
Models with Hob Gas Burner Safety Devices to
Prevent Leaks *
These models can be identified by the presence of
the device itself.
! Since the hob burners are equipped with a safety
device, you must hold the control knob in for about
3-7 seconds after the burner has been lighted to
allow the gas to pass until the safety thermocouple
has heated.
Timer *
To use the timer, the buzzer must be wound up by
turning the knob one full turn clockwise; then turn it
back to the desired time so that the number of
minutes on the knob matches the reference mark on
the panel.
* (only available on certain models)
HOB GAS BURNER
SAFETY DEVICE
ELECTRONIC
LIGHTING DEVICE
GRILL
MAIN
OVEN
LEFT
FRONT
BURNER
RIGHT
REAR
BURNER
LEFT
REAR
BURNER
RIGHT
FRONT
BURNER

Related product manuals