EasyManua.ls Logo

Infinity Pedicure Spa - Drain Connection Methods

Infinity Pedicure Spa
24 pages
Print Icon
To Next Page IconTo Next Page
To Next Page IconTo Next Page
To Previous Page IconTo Previous Page
To Previous Page IconTo Previous Page
Loading...
12
_____________________________________________________________Installation
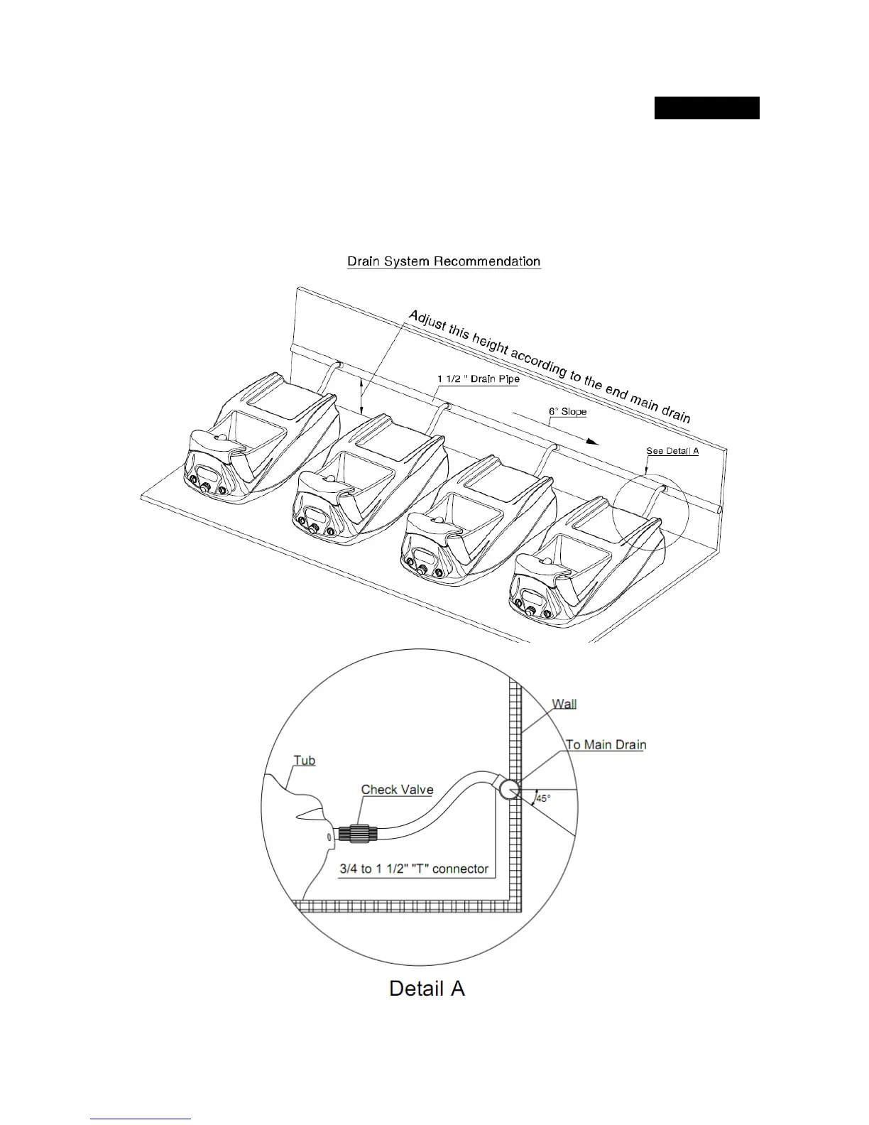
CONNECT DRAIN WITH POWER DRAIN (PUMP) OR GRAVITY DRAIN (NO PUMP)
Using ¾” schedule 40 PVC (Power Drain) or 1 ¼” flex tube (Gravity Drain) and appropriate traps.
Connect drain to meet local plumbing codes.
Rubber connection to the drain should be removable for easy service and should not be permanent to
prevent damages.