EasyManua.ls Logo

Infinity SSW-10 - AC Filtering and Voltage Regulation

Infinity SSW-10
40 pages
Print Icon
To Next Page IconTo Next Page
To Next Page IconTo Next Page
To Previous Page IconTo Previous Page
To Previous Page IconTo Previous Page
Loading...
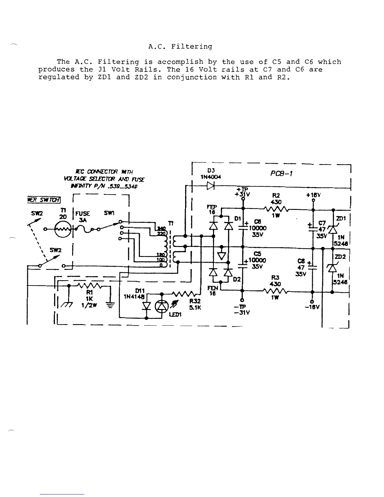
CIRCUIT DESCRIPTION (cont'd)
6

Related product manuals