EasyManua.ls Logo

Ingco AC1200508 - Installation; Before Starting

Ingco AC1200508
9 pages
Print Icon
To Next Page IconTo Next Page
To Next Page IconTo Next Page
To Previous Page IconTo Previous Page
To Previous Page IconTo Previous Page
Loading...
I
nstallation
a.1nstall
the
compressor
in a
vent
ate
d
place.
b.The space between
the
compressor
and the w 1
should
be at least
50cm.
c.1nstallation
of
Motor:
If
you
buy the
motor yourself. please
buy the
same model
as the
ai
compresso
r
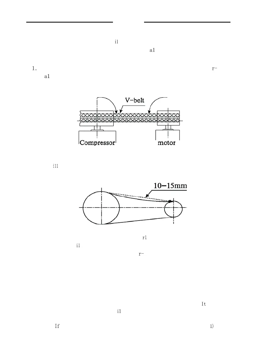
2.1nst 1 the as
shown
in the
following diagram:
90
0
90
0
I
3.Adjust
the belt to a
proper degree
of
tightness
in the way of
pressing
the
middle
of the belt
t
it sinks for
10-15mm
as
shown
in the
following diagram:
4.1f the belt is too
tight the
belt will be
ov
e
oade
d
and in
consequence
the
axis
of
the
motor
may
ea
s
y
wear
out, the motor
may get
heated and
consume more power
and the belt may break
down because
of
supe
tension;
5.1f the belt is too
loose , the
belt may slip and in
consequence
it may
cause
a
high-
heatabrasion
of the
belt ,unsteady rotation
of
the air-compressor
and
inadequate
displacement.
Before starti
ng
a.Before starting
the
compressor
be sure that the lube is
enough.
is safe
when
the lube level is at the red
point
of
o
glass.
(Figure l)When necessary, add the
lube
through
the hole of the
dipstick
Caution:
the lube is lower than the lower mark of the
dipstick (Figure
the
3|English