EasyManua.ls Logo

Insta 256 Series - A1 - 16 x 20 PLATEN ASSEMBLY

Insta 256 Series
28 pages
Print Icon
To Next Page IconTo Next Page
To Next Page IconTo Next Page
To Previous Page IconTo Previous Page
To Previous Page IconTo Previous Page
Loading...
15
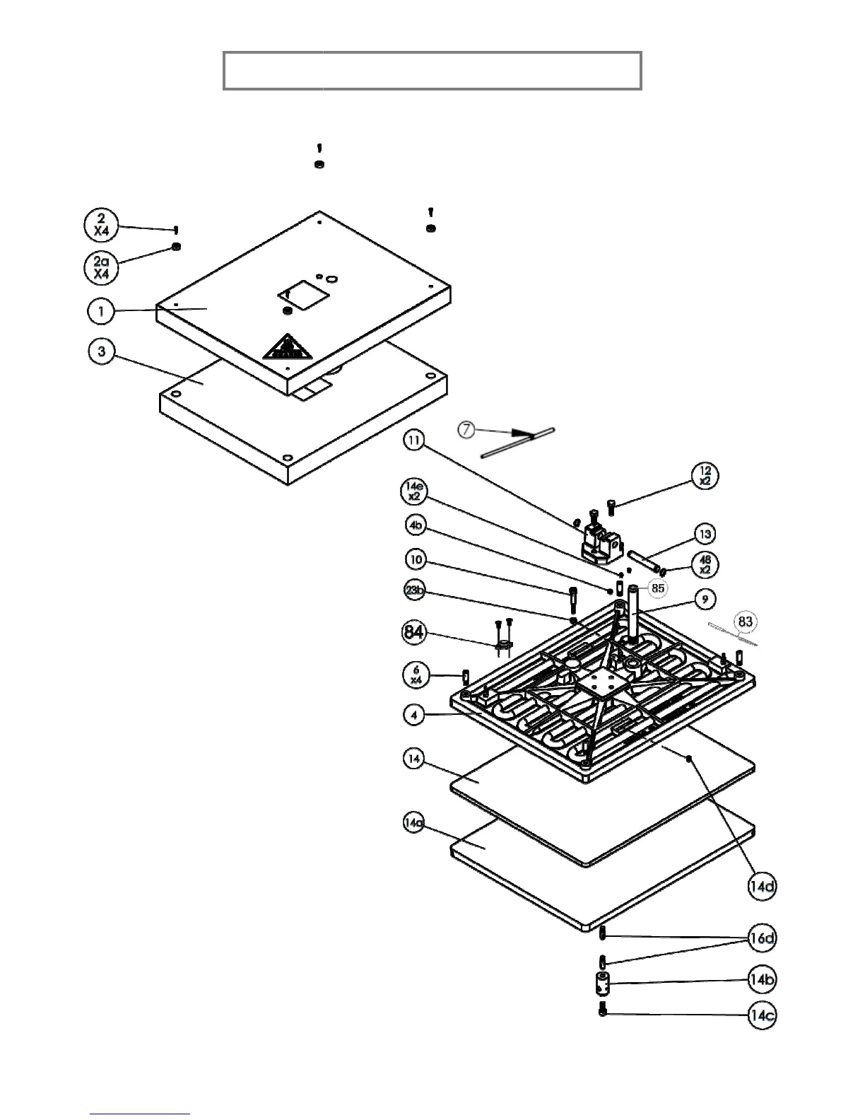
FOR USE BY QUALIFIED PERSONNEL ONLY
A1 –
16 x 20 PLATEN ASSEMBLY
FOR USE BY QUALIFIED PERSONNEL ONLY
16 x 20 PLATEN ASSEMBLY