EasyManua.ls Logo

Intel 80386 - Page 190

Intel 80386
308 pages
Print Icon
To Next Page IconTo Next Page
To Next Page IconTo Next Page
To Previous Page IconTo Previous Page
To Previous Page IconTo Previous Page
Loading...
inter
MUL TIBUS® I AND
80386
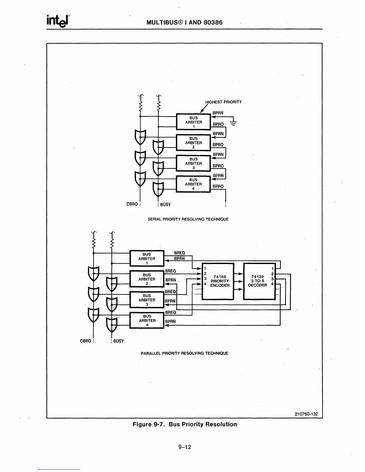
SERIAL PRIORITY RESOLVING TECHNIQUE
74148
PRIORITY
ENCODER
PARALLEL PRIORITY RESOLVING TECHNIQUE
Figure 9-7.
Bus
Priority Resolution
9-12
74138
~
3
T08
DECODER 4
210760-132

Other manuals for Intel 80386

Related product manuals