EasyManua.ls Logo

INVT MG5KTL-2M

INVT MG5KTL-2M
72 pages
To Next Page IconTo Next Page
To Next Page IconTo Next Page
To Previous Page IconTo Previous Page
To Previous Page IconTo Previous Page
Loading...
INVT iMars MG series grid-tied solar inverters Display panel
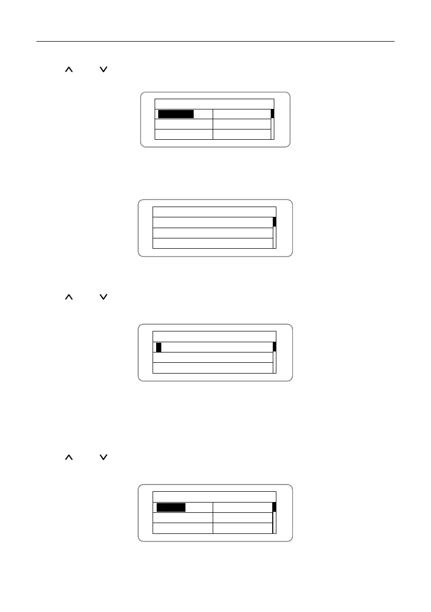
5.4.5 System Information
Press and ” in the main interface to select “System Information”, and then press “ENT” to
view the parameters which is shown in figure 5.8.
System Information
Part No .
Serial No .
Soft Ver
Cert . Area
Run Param
Figure 5.8 System information
The system information include “product model”, “serial No.”, “software version” and “certificate
version”.
System Ver
Version1 : V 1. 05
Version
2 :
V1
.05
MCU Version
:
V
1.
05
Figure 5.9 System version
5.4.6 Faults
Press and ” in the main interface to review the fault history, and then press “ENT” to view
the sub-menu which is shown in figure 5.10.
Fault
1: A005 Grid under freq
2: A
001 Input under Volt
3
:
1
Figure 5.10 Fault information
There are 8 pieces of fault information in the record which is shown in figure 5.10; otherwise it will
display “No Fault!” Refer to section 5.4.2 for more detailed information.
5.4.7 Inverter control
Press and ” in the control interface, and then press “ENT” to view the sub-menu which is
shown in figure 5.11.
Control Menu
On/
Off
Clear
Restart
Factory
Figure 5.11 Control interface
- 45 -

Related product manuals