EasyManua.ls Logo

Issyzone POS IMP021 - Appendix B

Issyzone POS IMP021
17 pages
Print Icon
To Next Page IconTo Next Page
To Next Page IconTo Next Page
To Previous Page IconTo Previous Page
To Previous Page IconTo Previous Page
Loading...
16
Appendix B
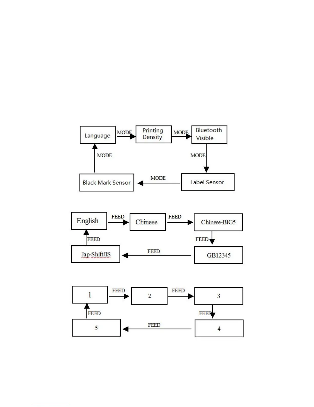
Setting introduction:PressMODEbutton to choose setting, when press it once, the
set become the next one and it will shows the present set value; useFEEDbutton to
set the set value, when press it once , the set become the next one and it will print the
present set value.
After setting, it’ll quit the Setting mode automatically and save the current value after 5
seconds.
General Setting:
Language Setting:
Density Setting: