EasyManua.ls Logo

ITRON CENTRON C1SR - Form 2 S Wiring Diagram

ITRON CENTRON C1SR
107 pages
Print Icon
To Next Page IconTo Next Page
To Next Page IconTo Next Page
To Previous Page IconTo Previous Page
To Previous Page IconTo Previous Page
Loading...
Specifications and Drawings
9-2 CENTRON Meter Technical Reference Guide
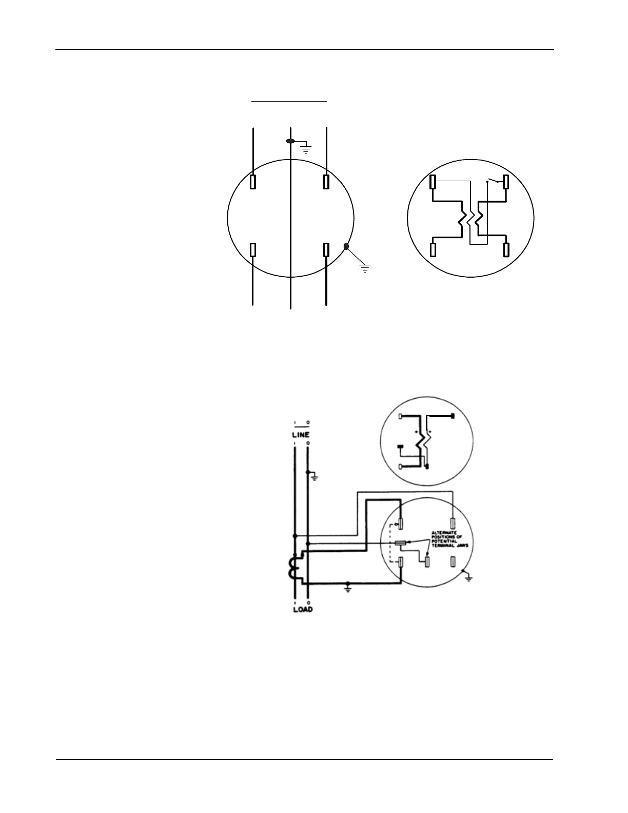
Figure 9.2 Form 2S Wiring Diagram
Figure 9.3 Form 3S Wiring Diagram
1
102
02
102
LINE
LOAD

Table of Contents

Related product manuals