EasyManua.ls Logo

ITT BARTON 763A - Page 30

ITT BARTON 763A
31 pages
Print Icon
To Next Page IconTo Next Page
To Next Page IconTo Next Page
To Previous Page IconTo Previous Page
To Previous Page IconTo Previous Page
Loading...
30
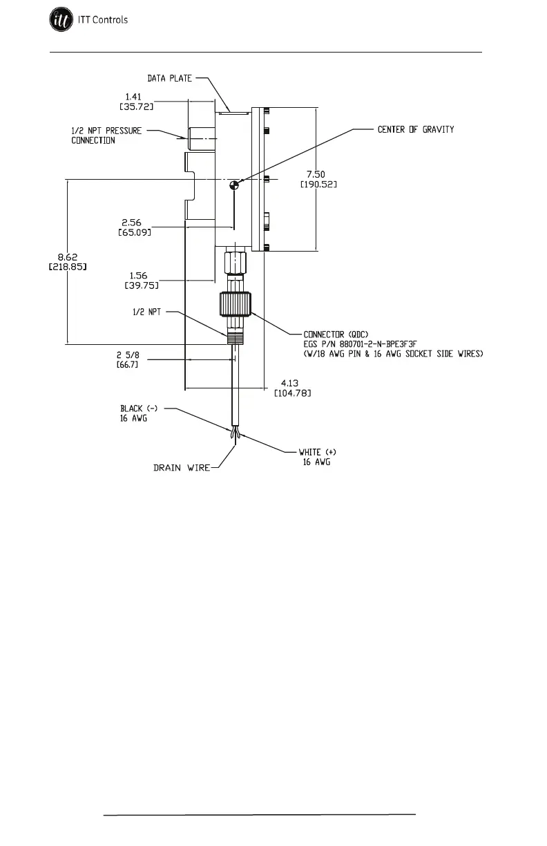
Section 6 Model 763A Gage Pressure Transmitter
Figure 6.3— 763A transmitter, side view
www.ittcontrols.com contact@ittcontrols.com