EasyManua.ls Logo

ITT BARTON 763A - Dimensional Drawings of Transmitter; General Dimensional Information

ITT BARTON 763A
31 pages
Print Icon
To Next Page IconTo Next Page
To Next Page IconTo Next Page
To Previous Page IconTo Previous Page
To Previous Page IconTo Previous Page
Loading...
29
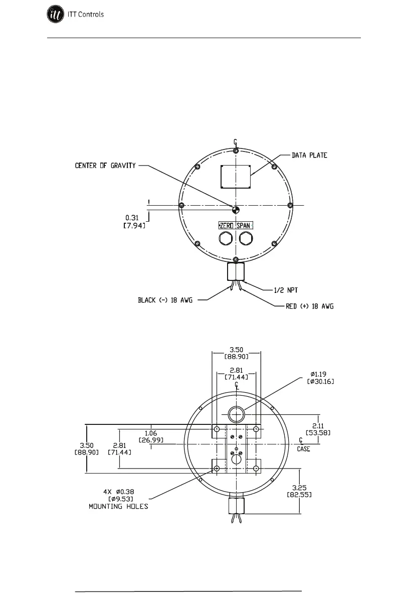
Model 763A Gage Pressure Transmitter Section 6
Section 6—Dimensional Drawings
General
The drawings in this section show the outline dimensions for the 763A Gage
Pressure Transmitter. These images are based on production drawing
9A-C0763-10173.
Figure 6.1—763A transmitter, front view (connector assembly not shown)
Figure 6.2— 763A transmitter, rear view (connector assembly not shown)
www.ittcontrols.com contact@ittcontrols.com