EasyManua.ls Logo

ITT BARTON 763A - Page 8

ITT BARTON 763A
31 pages
Print Icon
To Next Page IconTo Next Page
To Next Page IconTo Next Page
To Previous Page IconTo Previous Page
To Previous Page IconTo Previous Page
Loading...
8
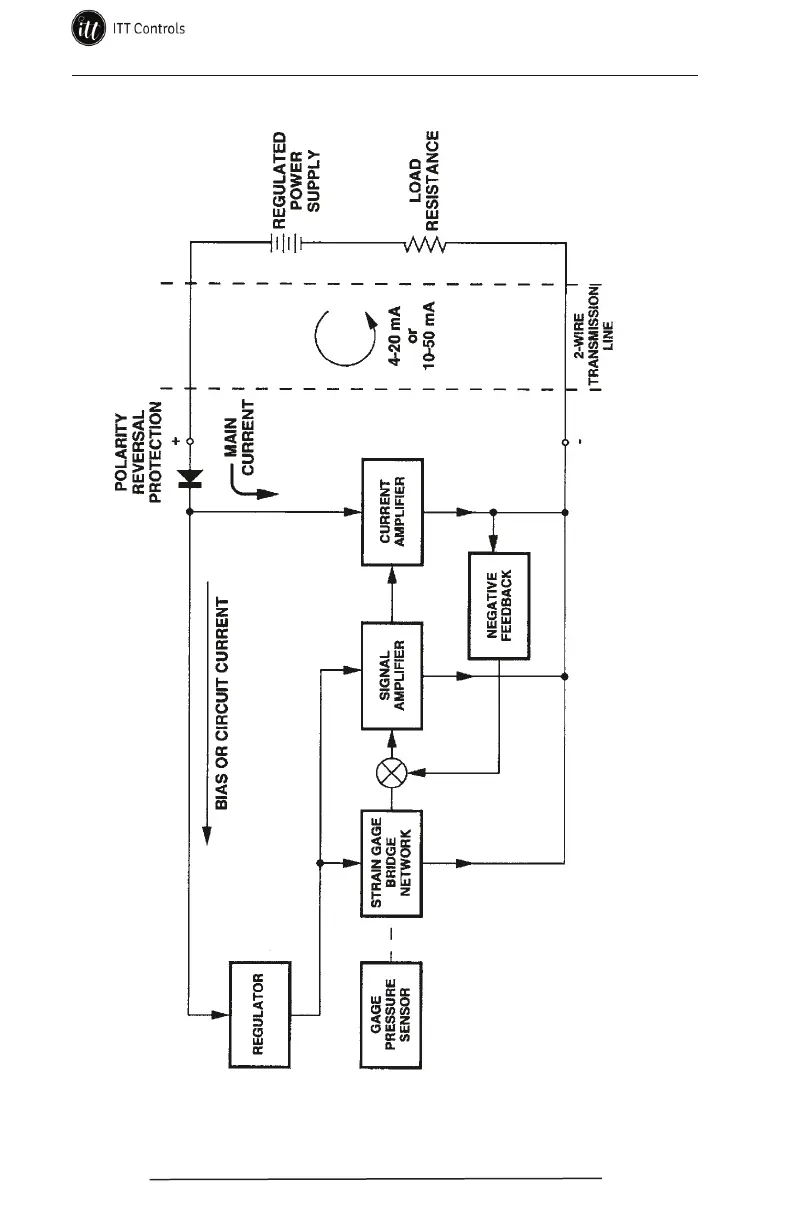
Section 2 Model 763A Gage Pressure Transmitter
Figure 2.1—Operational block diagram
www.ittcontrols.com contact@ittcontrols.com