EasyManua.ls Logo

Jack k4 Series - Page 39

Jack k4 Series
51 pages
Print Icon
To Next Page IconTo Next Page
To Next Page IconTo Next Page
To Previous Page IconTo Previous Page
To Previous Page IconTo Previous Page
Loading...
38 / 51
8
9
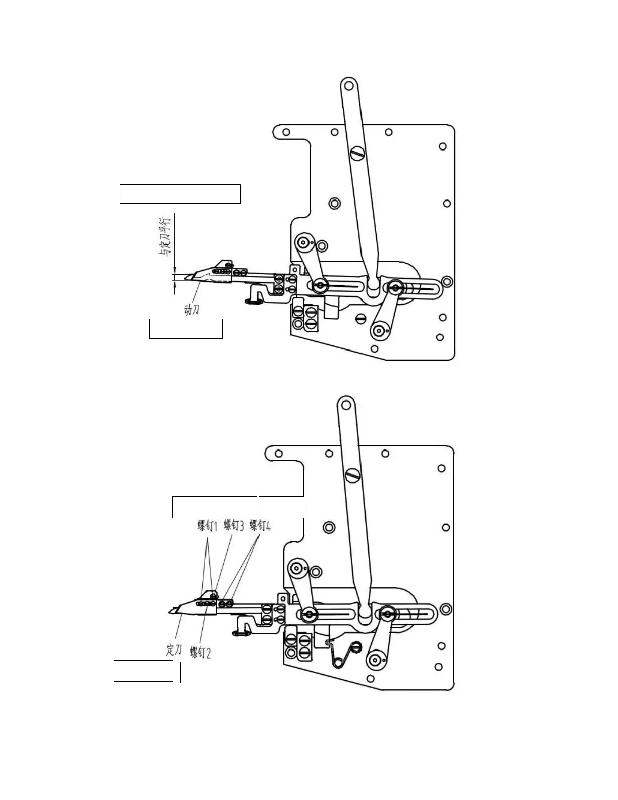
Moving cutter
is parallel to the fixed cutter.
Screw1
Screw3
Screw4
Screw2
Fixed cutter

Other manuals for Jack k4 Series

Related product manuals