EasyManua.ls Logo

Jacobsen AR3 - Page 163

Jacobsen AR3
168 pages
Print Icon
To Next Page IconTo Next Page
To Next Page IconTo Next Page
To Previous Page IconTo Previous Page
To Previous Page IconTo Previous Page
Loading...
da-81
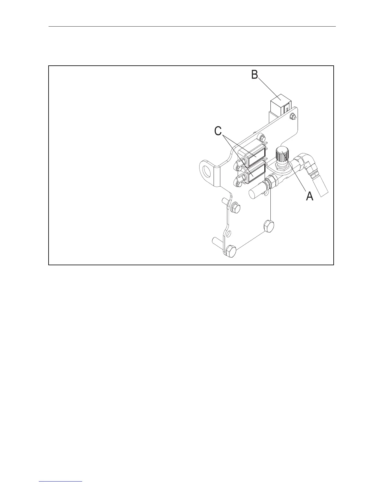
12.4 ELEKTRISKE KREDSLØB – SIKRINGER OG RELÆER
SIKRINGER & RELÆER
I motorrummet
B Relæ - Gløderør
C Strimmelsikring - 40 Amp
Foroven - Kabine
Forneden - Gløderør
SKEMATISK OVERSIGT 12

Table of Contents

Other manuals for Jacobsen AR3

Related product manuals