EasyManua.ls Logo

Jayco Eagle - Frame; Tire Covers - Vinyl (Option)

Jayco Eagle
95 pages
Print Icon
To Next Page IconTo Next Page
To Next Page IconTo Next Page
To Previous Page IconTo Previous Page
To Previous Page IconTo Previous Page
Loading...
61
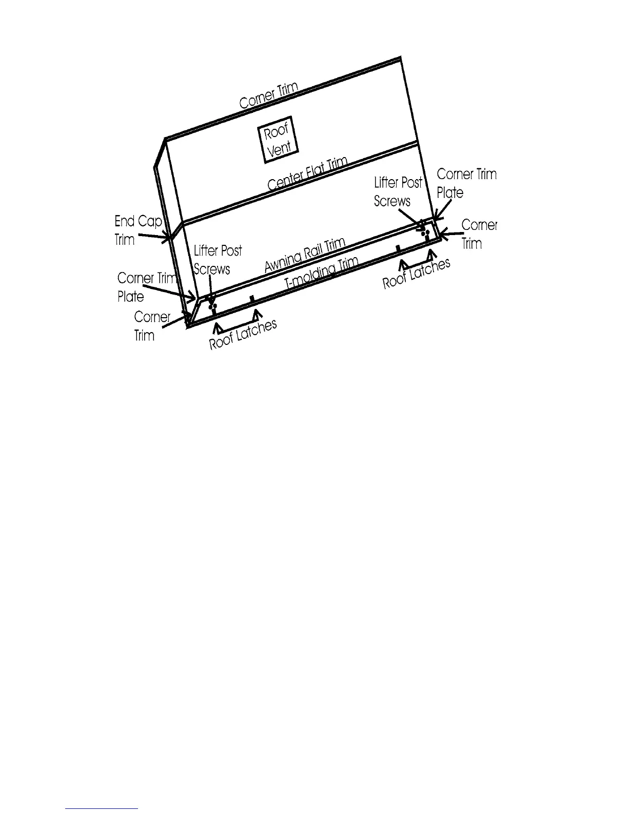
Fig. 6-1
NOTE: It is important to examine all seams and repair them to prevent water
leakage. If you are uncertain about the process to follow, contact your Jayco
dealer for assistance.
Frame
The frame on your new Jayco coach has an E-coat paint. It is recommended you
periodically inspect the exterior exposed areas, clean and repaint the steel members to
insure long life. Road debris will chip paint, inviting rust and other deterioration. To
prevent rust or corrosion, you may wish to purchase a commercially available rust
treatment application such as Ziebart, etc. If damage would occur, the frame needs to
painted with e-coat paint and not a gloss black paint. This type of paint is available in a
spray can from the vendor, Leland.
Tire Covers - Vinyl (Option)
To minimize the possibility of the tire “bleeding” through onto the tire cover, we
recommend use of a separator (garbage bag, paper, cloth, etc.) between the tire and the
tire cover.

Table of Contents

Related product manuals