EasyManua.ls Logo

JP Selecta UV 2005 - Utilities; Set Deuterium Lamp

JP Selecta UV 2005
Print Icon
To Next Page IconTo Next Page
To Next Page IconTo Next Page
To Previous Page IconTo Previous Page
To Previous Page IconTo Previous Page
Loading...
MANUAL DE INSTRUCCIONES CODIGO 80243 REV A Enero /11 (Sujetas a modicaciones sin previo aviso) Pag.: 48
J.P. SELECTA s.a. Ctra. NII Km 585.1 Abrera 08630 (Barcelona) España Tel 34 93 770 08 77 Fax 34 93 770 23 62
e-mail: selecta@jpselecta.es - website: http://www.jpselecta.es
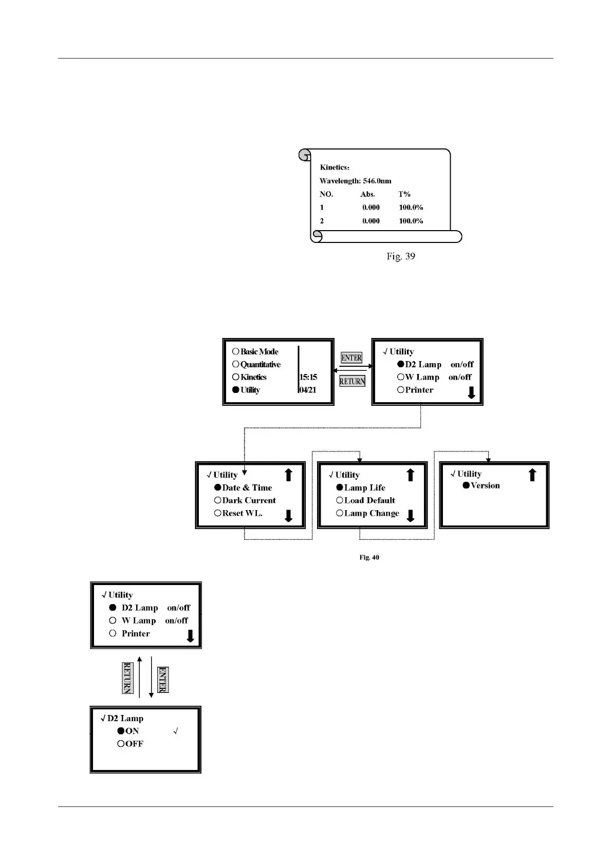
7 Utilities
From the Utilities menu, we can browse and program different parameters.
First, move the cursor to Utility by pressing [»] and [«] in the main menu and then
press [ENTER]. You could set ten items (Fig. 40)
7.1 Set Deuterium Lamp
Move the cursor onto D2 Lamp on/off by pressing [»] and [«] in utility setting
screen, and then press [ENTER] to go into D2 controlling interface. (Fig.41)
Move the cursor onto OFF to shut off the D2 lamp by pressing [»] and [«], and then
press [ENTER]. Press [RETURN] to exit.
Move the cursor onto On to lighten the D2 lamp by pressing [»] and [«], and then
press [ENTER]. Press [RETURN] to exit.
Note:
The D2 lamp needs about 20 seconds to warm up before being lightened! (Fig. 42)
Shutting off D2 lamp is strongly recommended when you don’t use it after self-testing.
Data Print
Press [PRINT] in the down display of Fig.38, and the data will be printed.
After printing, the data will be deleted from the screen and RAM.
You can also delete the data if you press [CLEAR]. (Fig. 39)
Figure 41

Related product manuals