EasyManua.ls Logo

JRC JMA-5312-6HS - Display and Processor Unit Outline Drawings

JRC JMA-5312-6HS
160 pages
Print Icon
To Next Page IconTo Next Page
To Next Page IconTo Next Page
To Previous Page IconTo Previous Page
To Previous Page IconTo Previous Page
Loading...
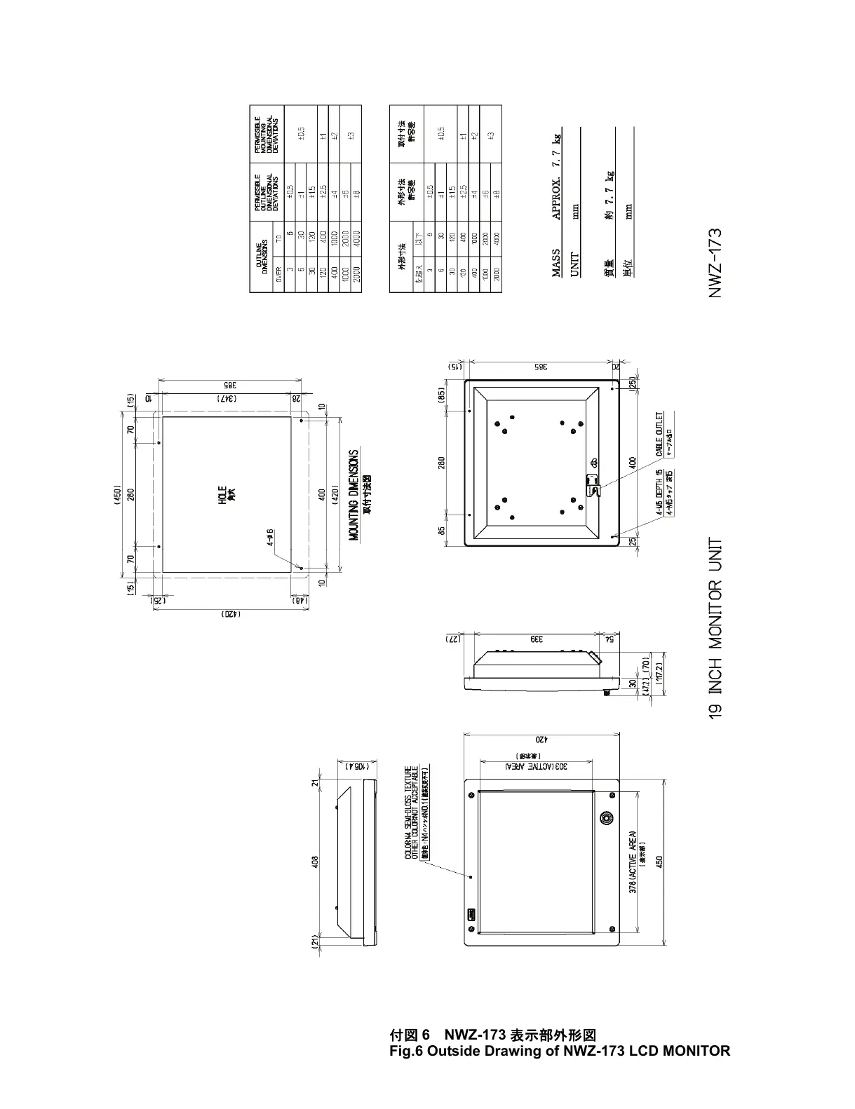
付図 6 NWZ-173 表示外形図
Fig.6 Outside Drawing of NWZ-173 LCD MONITOR
All manuals and user guides at all-guides.com

Table of Contents

Related product manuals