EasyManua.ls Logo

JUMO LOGOSCREEN Series - Connection Procedure Steps

JUMO LOGOSCREEN Series
32 pages
Print Icon
To Next Page IconTo Next Page
To Next Page IconTo Next Page
To Previous Page IconTo Previous Page
To Previous Page IconTo Previous Page
Loading...
4 Electrical connection
16
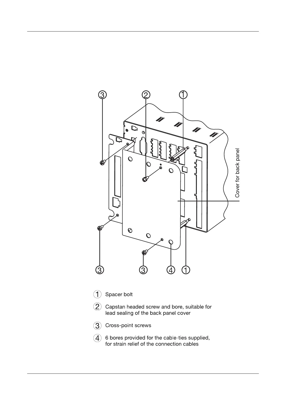
4.2 Procedure
h Carry out electrical connection as per Chapter 4.3 “Connection diagram”.
h Screw back panel cover on (spacer bolt first)
h If necessary, use cable-ties for strain relief of connecting cables.

Other manuals for JUMO LOGOSCREEN Series

Related product manuals