EasyManua.ls Logo

JVC CA-MXG70 - Getting Started (Continued); External Equipment Connection; Voltage Selector Setup; Display Demonstration Control

JVC CA-MXG70
36 pages
Print Icon
To Next Page IconTo Next Page
To Next Page IconTo Next Page
To Previous Page IconTo Previous Page
To Previous Page IconTo Previous Page
Loading...
– 10 –
Continúa
El indicador SUBWOOFER siempre se
ilumina cuando la unidad está encendida.
D.CLUB
(Dance CLUB)
OFF
(Cancelado)
HALL STADIUM ROCK
POP
CLASSIC
MANUAL 1MANUAL 2MANUAL 3
*
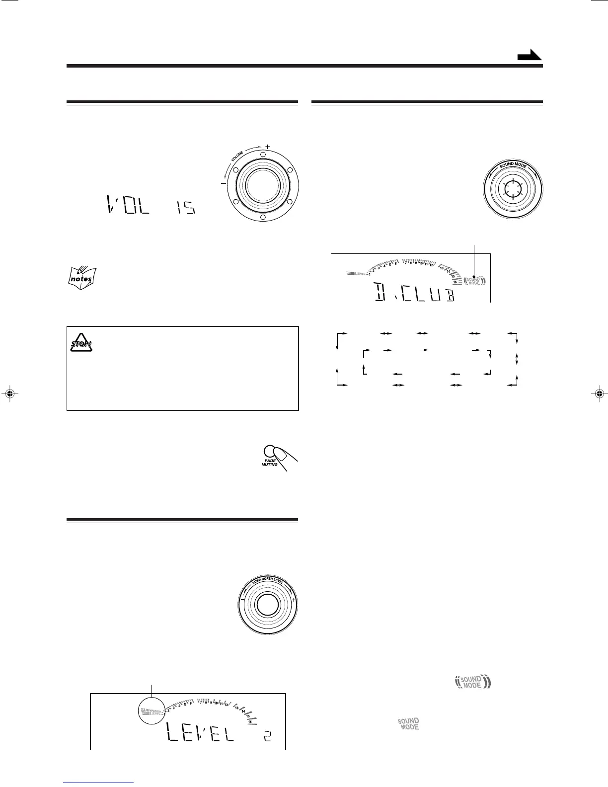
Ajuste del volumen
El nivel de volumen sólo se podrá ajustar estando conectada la
alimentación de la unidad. El nivel de volumen se puede ajustar
en 32 pasos (VOL MIN, VOL 01 — VOL 30 y VOL MAX).
Gire VOLUME + / – en el sentido
de las agujas del reloj (+) para
aumentar el volumen, o en sentido
contrario (–) para disminuirlo.
Cuando está utilizando el control remoto, pulse el botón
VOLUME + para aumentar el volumen o el botón
VOLUME – para disminuirlo.
Para una audición privada
Conecte un par de auriculares al jack PHONES. El sonido no se
escuchará a través de los altavoces. Asegúrese de disminuir el
volumen antes de conectar o de colocarse los auriculares.
NO desconecte la unidad (en espera) con el volumen
ajustado a un nivel extremadamente alto; de lo
contrario, la sobrecarga acústica repentina podrá
dañar su oído, los altavoces y/o auriculares cuando
vuelva a conectar la unidad o cuando empiece a
reproducir alguna fuente.
RECUERDE que no podrá ajustar el nivel de volumen
mientras la unidad está en el modo de espera.
Para disminuir temporalmente el nivel de volumen
Pulse FADE MUTING en el control remoto.
El nivel de volumen disminuye gradualmente a
“VOL MIN”.
Para restablecer el sonido, pulse el botón otra vez.
Refuerzo de los sonidos graves
Puede seleccionar uno de los 4 niveles de subwoofer. Esta
función afecta solamente el sonido reproducido, pero no
afectará sobre sus grabaciones. El nivel del subwoofer puede
ajustarse en 4 pasos — LEVEL 1, LEVEL 2, LEVEL 3 y
LEVEL 4 (MAX LEVEL).
Gire SUBWOOFER LEVEL + / – en el
sentido de las agujas del reloj (+) para
aumentar el sonido del subwoofer, o en
sentido contrario (–) para disminuirlo.
Cuando está usando el control remoto, pulse
SUBWOOFER LEVEL + para aumentar el volumen del
subwoofer o pulse SUBWOOFER LEVEL – para disminuirlo.
Selección de los modos de sonido
Podrá seleccionar uno de los 6 modos de sonido preajustados
(3 modos surround (envolventes) y 3 modos SEA —
Amplificador de efecto de sonido). Esta función afecta
solamente al sonido de reproducción, pero no al de grabación.
Para seleccionar los modos de
sonido, gire SOUND MODE (o pulse
SOUND MODE en el control remoto)
hasta que en la pantalla aparezca el modo
de sonido deseado.
Los modos de sonido cambian de la siguiente manera.
*Cuando utilice el control remoto, el modo de sonido cambia
solamente en una dirección.
Modos surround**:
D.CLUB: Aumenta la resonancia y los graves.
HALL: Añade profundidad y realismo al sonido.
STADIUM: Añade claridad y difunde el sonido, como en un
estadio exterior.
Modos SEA (Amplificador de efecto de sonido):
ROCK: Refuerza las frecuencias altas y bajas.
Conveniente para la música acústica.
POP: Conveniente para la música vocal.
CLASSIC: Conveniente para la música clásica.
Modos manuales:
MANUAL 1/2/3:
Su modo personal almacenado en la memoria.
Consulte “Creación de su propio modo de
sonido — Modo manual”.
OFF: Cancela el modo de sonido. El indicador
SOUND MODE se apaga.
** Los elementos surround son añadidos a los elementos SEA
para crear la sensación de estar allí mismo.
Cuando se selecciona uno de estos modos, el indicador
SOUND MODE se enciende como ––
Mientras está seleccionado uno de los modos SEA incluyendo
los modos manuales (elementos SEA si elementos surround),
se enciende como —
El indicador SOUND MODE
también se enciende en la pantalla.
SP01-12.CA-MXGT90&80&70[UY]f 5/18/01, 2:30 PM10

Table of Contents

Other manuals for JVC CA-MXG70

Related product manuals