EasyManua.ls Logo

JVC CA-MXG70 - Common Operations; Power Control; Clock Setting; AM Tuner Interval Setting

JVC CA-MXG70
36 pages
Print Icon
To Next Page IconTo Next Page
To Next Page IconTo Next Page
To Previous Page IconTo Previous Page
To Previous Page IconTo Previous Page
Loading...
– 11 –
Aparece el nivel actual.
Creación de su propio modo de sonido
— Modo manual
Usted podrá cambiar el patrón SEA para adaptarlo a su gusto.
Estos ajustes cambiados pueden almacenarse en los modos
MANUAL 1, MANUAL 2 y MANUAL 3.
Hay un límite de tiempo para realizar los siguientes pasos.
Si se cancelan los ajustes antes de haber terminado,
comience otra vez desde el paso 1.
En la unidad SOLAMENTE:
1
Seleccione uno de los modos de sonido
preajustados.
Si desea añadir elementos surround a su patrón SEA,
seleccione uno de los modos surround (D.CLUB, HALL
o STADIUM) antes de iniciar el procedimiento de abajo.
(Consulte “Selección de los modos de sonido” en la página
10.)
2
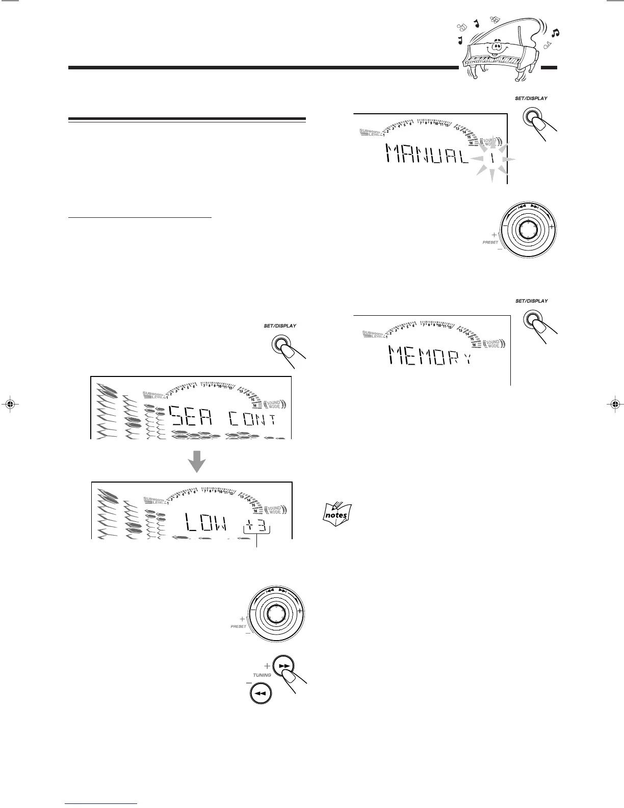
Pulse y mantenga pulsado
SET/DISPLAY hasta que aparezca
“SEA CONT” en la pantalla.
3
Ajuste el patrón de SEA.
1) Gire 4 / ¢ para
seleccionar el margen de
frecuencias que desea
ajustar (LOW, MID,
HIGH).
2) Pulse 1 o ¡ para
ajustar el nivel (–3 a +3)
de las gamas de frecuencias
seleccionadas.
3) Repita los pasos 1) y 2) para
ajustar el nivel de las otras
gamas de frecuencias.
4
Pulse SET/DISPLAY otra vez.
5
Gire 4 / ¢ para
seleccionar entre los modos
MANUAL 1, MANUAL 2 y
MANUAL 3, según donde
desee almacenar el patrón
SEA.
6
Pulse SET/DISPLAY otra vez.
El patrón de SEA creado por usted también se almacena
en el modo MANUAL seleccionado en el paso de arriba.
Para usar su propio modo de sonido
Seleccione el modo MANUAL 1, MANUAL 2 o MANUAL 3
cuando utilice los modos de sonido. Consulte “Selección de los
modos de sonido” en la página 10.
Cuando desenchufe el cable de alimentación de CA o se
produzca una falla de alimentación eléctrica
El ajuste será borrado después de varios días. En este caso, ajuste
otra vez los modos de sonido manuales.
SP01-12.CA-MXGT90&80&70[UY]f 5/18/01, 2:31 PM11

Table of Contents

Other manuals for JVC CA-MXG70

Related product manuals