EasyManua.ls Logo

JVC CA-MXG950V - Common Operations: Custom Sound; Creating Custom Sound Modes

JVC CA-MXG950V
64 pages
Print Icon
To Next Page IconTo Next Page
To Next Page IconTo Next Page
To Previous Page IconTo Previous Page
To Previous Page IconTo Previous Page
Loading...
– 12 –
English
STADIUM: Adds clarity and spreads the sound, like in an
outdoor stadium.
SEA (Sound Effect Amplifier) modes:
ROCK: Boosts low and high frequency. Good for
acoustic music.
POP: Good for vocal music.
CLASSIC: Good for classical music.
Manual modes:
MANUAL 1/2/3:
Your individual mode stored in memory. See
“Creating Your Own Sound Mode — Manual
Mode” on page 12.
OFF: The sound mode is cancelled. The SOUND
MODE indicator goes off.
** Surround elements are added to the SEA elements to create a
being-there feeling in your room.
When one of these modes is selected, the SOUND MODE
indicator lights up as —
While one of the SEA modes including manual modes (SEA
elements without surround elements) is selected, the SOUND
MODE indicator lights up as —
Creating Your Own Sound Mode
— Manual Mode
You can change SEA patterns to suit your preference. These
changed settings can be stored in the MANUAL 1,
MANUAL 2 and MANUAL 3 modes.
There is a time limit in performing the following steps. If the
setting is cancelled before you finish, start from step 1 again.
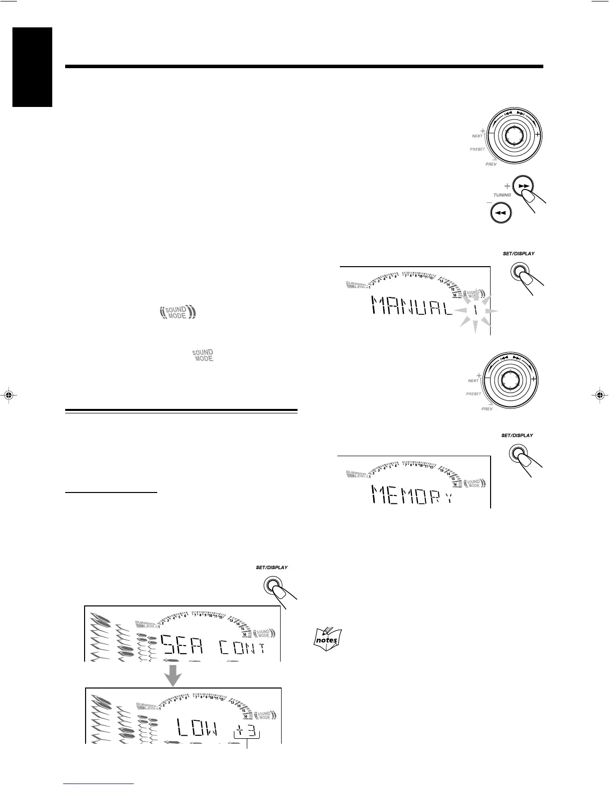
On the unit ONLY:
1
Select one of the preset sound modes.
If you want to add the surround elements in your
SEA pattern, select one of the surround modes
(D.CLUB, HALL, or STADIUM) before starting the
procedure below. (See “Selecting the Sound Modes” on
page 11.)
2
Press and hold SET/DISPLAY until
“SEA CONT” appears on the display.
4
Press SET/DISPLAY again.
5
Turn 4/¢ to select one of
the MANUAL 1, MANUAL 2
and MANUAL 3 modes into
which you want to store the
SEA pattern.
6
Press SET/DISPLAY again.
The SEA pattern you have created are stored into the
MANUAL mode selected in the above step.
To use your own sound mode
Select MANUAL 1, MANUAL 2, or MANUAL 3 mode
when using the sound modes. See “Selecting the Sound
Modes” on page 11.
When you unplug the AC power cord or if a power failure
occurs
The setting will be erased in a few days. If this happens, set the
manual sound modes again.
Current level appears.
3
Adjust the SEA pattern.
1) Turn 4/¢ to select the
frequency range to adjust
(LOW, MID, HIGH).
2) Press 1 or ¡ to adjust
the level (–3 to +3) of the
selected frequency range.
3) Repeat steps 1) and 2) to
adjust the level of the other
frequency ranges.
EN01-13.CA-MXG950/850/750 3/1/02, 3:45 PM12

Table of Contents

Related product manuals